О товаре:
- Длинна: 5980 мм.
- Ширина: 2980 мм.
- Высота: 180 мм.
- Вес: 7850 кг.
- ГОСТ, Серия: Серия 1.420.1-25 скачать
- Объем бетона: 3,14 м3
- Геометрический объем: 3,2077 м3
Стандарт изготовления изделия: Серия 1.420.1-25
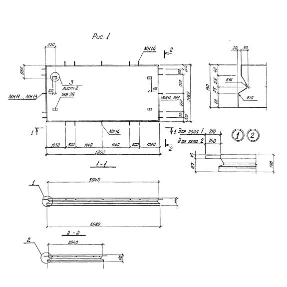
Пролетные плиты ПП 2-1 АIIIв – железобетонные платформы плоской формы. С торцов имеются специальные углубления, применяемые для образования технологических отверстий. Пролетная плита представляет собой неразрезную балку, упруго опираемую на межконсольные плиты МП3.
1. Варианты написания маркировки
Знаки условного обозначения пишут по-разному:
1. ПП 2-1 AIIIв;
2. ПП 2.1 AIIIв;
3. ПП 2,1 AIIIв.
2. Основная сфера применения
Плиты пролетные ПП 2-1 АIIIв используют в строительстве промышленных многоэтажных зданий и сооружений различного назначения. Элементы монтируют в безбалочных перекрытиях с сетками для колонн 9х6 м под длительные вертикальные нагрузки на междуэтажные перекрытия до 20 кПа. Плиты данной серии запроектированы на эксплуатацию в неагрессивных или слабоагрессивных газовых средах. Применение пролетных платформ в иных условиях должно быть подкрепления технико-экономическим обоснованием, а также расчетами прочности и несущей способности.
3. Обозначение маркировки
Маркировка – обязательный этап в производстве железобетонных плит многоэтажных производственных зданий. Упрощается подбор номенклатуры изделий, и ускоряется отгрузка товара со склада. Знаки условного обозначения формируют в виде буквенно-цифрового кода и наносят на торцевую грань плиты черной нестираемой краской. Марка должна соответствовать требованиям ГОСТ 23009-78. Для того чтобы обеспечить читаемость кода применяют специальные трафареты. Обозначение не должно стираться на всем протяжении эксплуатации конструкции.
Маркировка состоит из основного и вспомогательного обозначения. Шифр ПП 2-1 АIIIв содержит следующие данные:
1. ПП – тип конструкции, плита пролетная;
2. 2 – условное обозначение группы типоразмера (отражает размерные параметры длины и ширины изделия);
3. 1 – номер несущей способности;
4. АIIIв – тип армирования, арматура класса А-300 предварительного напряжения методом механической или электротермической вытяжки.
Технические данные:
Длина = 5980;
Ширина = 2980;
Высота = 180;
Вес = 7850;
Объем бетона = 3,14;
Геометрический объем = 3,2077.
4. Применяемые материалы и технологии
Плиты ПП 2-1 АIIIв изготавливают методом виброформования в металлических формах из конструкционного бетона класса прочности не мене В30 в соответствии с требованиями ГОСТ 25192-82. Материалы также должны соответствовать всем требованиям морозостойкости, водонепроницаемости и высокой трещиностойкости, так как изделия участвуют в конструкциях, работающих под разрушающими нагрузками. Параметры регламентированы ГОСТ 27108-86.
Усиление плит выполняется стальной горячекатаной арматурой периодического профиля с преднапряжением класса стали Ав-300. Каркасы и закладные сетки изготавливают контактной точечной сваркой, при этом приварке подвергают все места пересечения стержней. В зоне тавровых соединений анкерных стержней с пластинами выполняют сварку под пленкой флюса.
Армирование выполняется по следующей схеме:
- закладывается нижняя сетка;
- закрепляется предварительно напряженная арматура – стержни с разным диаметром и длиной;
- монтируют боковые сетки, ее привязывают вязальной проволокой к нижней;
- производят приварку монтажных петель;
- устанавливают закладные детали, их привязывают к нижней и боковой сеткам вязальной проволокой и отдельным арматурным стержням, которые приваривают односторонним швом к деталям;
- устанавливается верхняя сетка.
Для удобства перемещения плит имеются монтажные петли. Их изготавливают из стали класса А-100 и стали хорошей свариваемости класса Ас-200. Стальные узлы покрывают антикоррозионными составами и защищают слоем бетона толщиной 15 мм.
5. Транспортировка и хранение
Массивные крупногабаритные плиты ПП 2-1 АIIIв перевозят специализированными автомобильными, железнодорожными и водными транспортными средствами. По железной дороге железобетонные пролетные плиты доставляют на объекты эксплуатации безбортовыми платформами. Автомашины должны быть оборудованы необходимыми приспособлениями, которые гарантируют устойчивое положение изделия во время перевозки. Для их погрузки и разгрузки используют грузоподъемную спецтехнику, оснащенную траверсами, самобалансирующимися стропами или иными грузозахватными механизмами.
Складирование безбалочных плит осуществляется штабелями по 6-8 ярусов, устанавливаемыми на тщательное подготовленное основание. Под нижний ряд укладывают деревянные доски. В зимние время подкладки должны быть очищены ото льда, а в жаркое время кипы накрывают рогожей и поливают изделия водой 2 раза в сутки.

