О товаре:
- Длинна: 2100 мм.
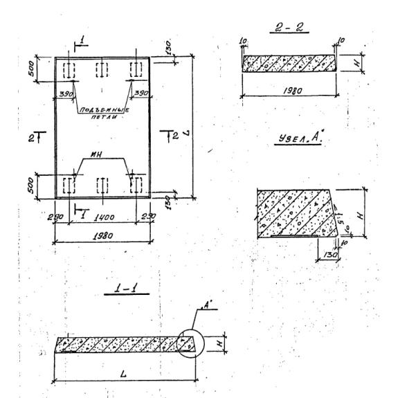
- Ширина: 1980 мм.
- Высота: 200 мм.
- Вес: 2075 кг.
- ГОСТ, Серия: Серия 0.55.18.236 скачать
- Объем бетона: 0,83 м3
- Геометрический объем: 0,8316 м3
Стандарт изготовления изделия: Серия 0.55.18.236
Плиты перекрытия тоннелей ПТН 18-20-5 являются обязательным элементом подземных каналов. Эти съемные плиты покрытия туннелей выпускаются в виде прямоугольных пластин относительно небольших размеров. Они имеют однородную бетонную структуру, армированную стальными сетками. На их боковых гранях выполнены технологические уклоны с небольшим углом наклона. Для обеспечения безопасного и удобного подъема плитной детали либо манипуляции при сборке подземного сооружения в их конструкции предусмотрены стальные петли.
1. Варианты маркировки
Любая выпущенная продукция в обязательном порядке условно кодируется с помощью буквенных и цифровых символов. Так в Серии 0.55.18.236 представлены несколько самых распространенных вариантов маркировки плит перекрытия тоннелей, применяемых при возведении подземных сооружений.
1. ПТН 18-20-10;
2. ПТН 18-20-15;
3. ПТН 18-20-20;
4. ПТН 18-20-5.
2. Основная сфера применения
Для прокладки под землей инженерных жизнеобеспечивающих магистралей коммунального либо индустриального назначения широкое распространение получили тоннели разнообразных конструкций. Так же такие каналы высотой больше 3 м пользуются большой популярностью при обустройстве под насыпями пешеходных переходов. Как и другие ж/б изделия, используемые при возведении подземных сооружений, плиты ПТН 18-20-5 очень востребованы, так как при таких темпах роста любого города возникает постоянная неизбежность в надежном устройстве инженерных магистралей под землей.
Основной целью плит накрытия тоннелей является гарантированная способность воспринимать и равномерно разносить вертикальные нагрузки, создаваемые объектами, расположенными над подземными сооружениями тоннельного вида, либо грунтами. Вследствие чего к изготовленной продукции предъявляются довольно высокие требования по жесткости и надежности. Такие перекрытия каналов тоннельного типа из армированного бетона должны обладать хорошей устойчивостью к повышенной влажности, чтобы обеспечить довольно долгий срок эксплуатации таких сооружений.
Серия 0.55.18.236 представляет большой перечень плит перекрытия подземных инженерных сооружений типовых конструкций и размеров. Подбор применения этих деталей необходимо осуществлять с учетом глубины заложения и геометрии коммунальных каналов. Также в этом нормативном документе можно найти рабочие чертежи и габаритные схемы разнообразных строений тоннельного типа, особые требования к использованию таких сборочных изделий.
3. Обозначение маркировка изделия
Любые выпущенные ж/б детали на ЖБИ предприятии в обязательном порядке кодируются с применением буквенной и цифровой символики. При этом необходимо обязательно учитывать рекомендации проектной Серии 0.55.18.236. Такие условные обозначения предоставляют возможность потребителю получить информацию: о сфере применения произведенной продукции – комбинацией из заглавных букв. Несколькими группами цифр через «дефис» – габаритные размеры деталей в дм и ее несущую способность в тоннах.
Поэтому условное сочетание букв и цифр, нанесенное на поверхность плит ПТН 18-20-5, предоставляет клиенту информацию следующего вида о выпущенной продукции;
1. ПТН – плиты перекрытия тоннелей;
2. 18 – длина в дм;
3. 20 – ширина;
4. 5 – нагрузка.
Плиты такого типа обладают следующими эксплуатационными характеристиками:
Длина = 2100;
Ширина = 1980;
Высота = 200;
Вес = 2075;
Объем бетона = 0,83;
Геометрический объем = 0,8316.
На одной из сторон плиты также нужно указывать несмываемой краской дату изготовления, вес, штамп ОТК.
4. Изготовление и основные характеристики
Изготовление плит ПТН 18-20-5 рекомендуется выполнять с применением технологии вибропрессования, способствующей получать детали с довольно плотной и устойчивой структурой. Для изготовления надежных ж/б изделий этого типа желательно использовать плотные бетоны тяжелых марок не выше М400, вследствие чего они способны переносить нагрузки до нескольких десятков тс/м2.
Обеспечить прекрасное противостояние давлению позволяет армирование бетонных деталей сварными сетками и плоскими каркасами. Для арматуры принято применять стали классов A-I и A-III. Все усиливающие сборки свариваются способом контактной точечной электросварки проволокой диаметром до 16 мм. Такие арматурные включения дают возможность выдерживать перекрытию тоннелей значительные вертикальные перегрузки от давления внешних нагрузок.
Применение современных присадок позволяет выпускать продукцию с пределом морозоустойчивости не менее F100 и степенью водонепроницаемости не ниже W4.
5. Транспортировка и хранение
Как и любые плоские бетонные армированные сталью детали, плиты ПТН 18-20-5 рекомендуется хранить в штабелях до 2 метров, располагая вверх лицевой стороной. В местах присутствия монтажных петель нужно укладывать деревянные прокладки толщиной не меньше высоты строповочных крючков. Во время их перевозки желательно обеспечивать надежную фиксацию, исключающую случайное падение. Все особенности транспортировки и хранения плит перекрытия есть возможность посмотреть в Серии 0.55.18.236.

