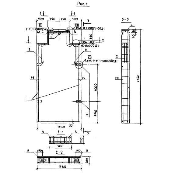
О товаре:
- Длинна: 2540 мм.
- Ширина: 200 мм.
- Высота: 1180 мм.
- Вес: 1390 кг.
- ГОСТ, Серия: Серия 1.134.1-11 скачать
- Объем бетона: 0,556 м3
- Геометрический объем: 0,5994 м3
Стандарт изготовления изделия: Серия 1.134.1-11
Блок внутренних стен СБВ 12-26-2 т-1002 – железобетонная строительная конструкция, применяется непосредственно для сооружения перегородочных стен многоэтажных домов, с крупноблочными стенами, высотой в 5-9 этажей. Блоки такого типа используются в I, II,III климатических зонах. Данное изделие является огнеупорным, предел противостояния к огню составляет более 2х часов. Монтаж может осуществляться двумя способами: при помощи подъемных петель или захвата типа «ножницы».
Расшифровка маркировки
Основные характеристики изделия блока СБВ можно узнать из его маркировки, которая представлена комбинацией цифр и букв, поделенной на три группы. Первая характеризует тип блока и его габариты, вторая тип бетона. В третьей группе указываются дополнительные признаки: конфигурация блока, дверной проем, длина простенка, наличие подрезки для опирания перемычки, зеркальность и пригодность беспетлевого монтажа в соответствии с таблицей №5 Серии 1.134.1-11. При отсутствии какого-либо признака в маркировке прописывается 0. Маркировка блока СБВ 12-26-2 т-1002 расшифровывается:
1. СБВ – стеновой блок внутренний;
2. 12 – длина (в дм);
3. 26 – высота (в дм);
4. 2 – толщина (в дм);
5. т – бетон тяжелый;
6. 1002 – дополнительные признаки.
Материалы и производство
Согласно Серии 1.134.1-11 Блок СБВ 12-26-2 т-1002 изготавливается из тяжелого бетона В 12,5 или В 15, выбор класса бетона зависит от предполагаемой нагрузки на блоки во время эксплуатации здания. Армирование изделий является каркасным, до установки в форму собирается пространственный арматурный блок. Изготовление каркасов из рабочей арматуры и сборка их в пространственные блоки производится при помощи контактной точечной электросварки по ГОСТ 10922-75 и СН 393-78.Сам процесс изготовления запроектирован вертикально в стальных формах. Извлечение из формы не допускается, если бетон достиг прочности менее 70%. Блоки внутренних стен изготавливают с закладными деталями, чтобы блоки были устойчивы к нагрузкам, возникающим при монтаже здания. Размеры закладных пластин выбираются с условием размещения анкеров и соединительных элементов, толщина из условий свариваемости различным способом во время приварки анкеров.От воздействия коррозии при транспортировании и хранении, лицевые поверхности закладных изделий обрабатывают специальной обмазкой слоем 0,5 мм. Для удобства монтажа и транспортирования предусмотрены монтажные петли, или строповочные отверстия типа «ножницы», образованные за счет отверстий конической формы.
Предельная нагрузка блоков при внецентренном сжатии для средних и опорных сечений, примыкающих к горизонтальным швам, определена согласно ВСН 32-77.
Готовые блоки внутренних стен подлежат испытаниям на оценку их прочности, жесткости и трещиностойкости по ГОСТ 8829-85. Схемы испытаний необходимо согласовывать с организацией, которая проектировала проект здания.
Транспортировка и хранение
Готовые конструкции должны храниться на предназначенных для этого площадках. При транспортировании изделий следует соблюдать меры, которые исключают возможность их повреждения. Категорически запрещается перемещение изделий волочением, осуществлять разгрузку изделий со свободным их падением. Для сохранности изделий во время перевозки следует прокладывать между ними специальные подкладки, которые обеспечивают сохранность изделий.Транспортирование необходимо осуществлять закрепленных в кузове изделий, крепление должно исключать продольное или поперечное смещение конструкций, а также их трение друг об друга.

