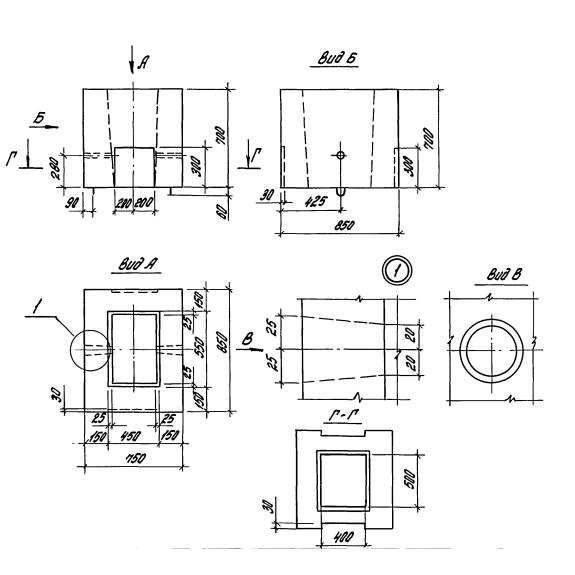
О товаре:
- Длинна: 750 мм.
- Ширина: 850 мм.
- Высота: 700 мм.
- Вес: 700 кг.
- ГОСТ, Серия: Серия 1.411.1-3 скачать
- Объем бетона: 0,28 м3
- Геометрический объем: 0,4462 м3
Стандарт изготовления изделия: Серия 1.411.1-3
Подколонники Ф 1-1– унифицированные элементы, имеющие прямоугольную форму со сквозным отверстием, предназначенным для последующего монтажа колонн. Изделие является сборным, в состав конструкции входит куст забивной сваи и сборно-монолитный ростверк.
Высокопрочные свайные фундаменты используются при строительстве одноэтажных производственных зданий и сооружений. Их применяют совместно с железобетонными колоннами прямоугольного сечения. Подходят для использования под рядовые колонны и для колонн, располагаемых у температурных швов. Допускается применение в конструкциях с подвесными кранами по ГОСТ 7890-84 грузоподъемностью до 5 тонн. Перед разработкой проекта необходимо ознакомится с климатическими и географическими условиями территории застройки, и следовать правилам СНиП 2.01.01-82. Допускается использовать в районах с сейсмичностью не более 6 баллов.
Расшифровка маркировки
Согласно Серии 1.411.1-3 на изделия наносятся маркировочные обозначения, упрощающие сортировку и поиск конструкций. Знаки состоят из цифр и букв и наносятся несмываемой черной краской на боковую поверхность. Для Ф 1-1 маркировочное обозначение будет расшифровываться следующим образом:
1. Ф – тип конструкции – подколонник (сборный элемент фундамента);
2. 1 – типоразмер изделия;
3. 1 – порядковый номер несущей способности.
Дополнительно в маркировочном обозначении допускается наличие индекса «Т». Он подразумевает применение фундаментов под колонны у температурных швов. При индексе «Н» подразумевается нормальная проницаемость бетона. «П» - пониженная проницаемость. Для изделий, требующих нормированной марки по морозостойкости в конце маркировочного обозначения указывается индекс «м». Наличие дополнительных закладных деталей помечается буквой «а».
Материалы и производство
Сборные фундаменты Ф 1-1 изготавливаются из тяжелого бетона класса В20. Водонепроницаемость подбирается согласно климатическим условиям строительства, при «н» берется W4, при «п» W6. Морозостойкость необходимо выбирать, руководствуясь СНиП 2.03.01-84.
Для изготовления пространственных арматурных каркасов используются два плоских. Они производятся из горячекатаной стали периодического профиля класса AIII, и гладкой арматуры AI по ГОСТ 5781-82. Монтажные петли изготавливаются из AI марок ВСт3СП2 и ВСт3ПС2. Монтаж изделий при температуре ниже -40 с использованием ВСт3СП2 не допускается. Металлические компоненты проходят антикоррозионную обработку.
Ввиду использования конструкций в условиях высокой влажности (воздействие грунтовых вод), рекомендуется обеспечить дополнительную гидроизоляцию.
Изделия должны соответствовать геометрическим параметрам, согласно рабочим чертежам Серии 1.411.1-3. Качество поверхностей должны соответствовать требованиям ГОСТ 13015.0-83.
Транспортировки и хранение
Складирование и транспортировка подколонников Ф 1-1 осуществляется в положении, обратном проектном. Арматурные выпуски должны располагаться строго вверх. Укладка осуществляется на заранее выровненную поверхность. В качестве опоры выступают деревянные инвентарные подкладки толщиной 100 мм. Доски должны располагаться на расстоянии 20 см от краев.
Для транспортировки изделий применяются специализированные транспортные средства, оборудованные крепежными механизмами. Конструкции необходимо закреплять растяжками, предотвращающими смещение изделий в процессе перевозки. Увязка элементов осуществляется за монтажные петли.

