О товаре:
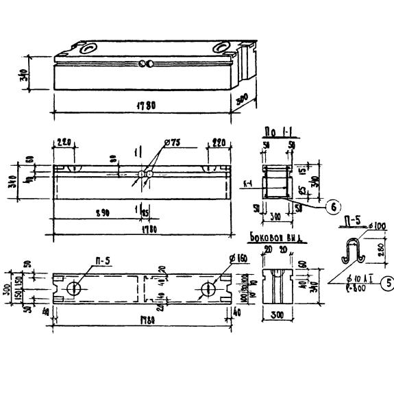
- Длинна: 1780 мм.
- Ширина: 300 мм.
- Высота: 340 мм.
- Вес: 315 кг.
- ГОСТ, Серия: Серия 1.134-1 скачать
- Объем бетона: 0,175 м3
- Геометрический объем: 0,1816 м3
Стандарт изготовления изделия: Серия 1.134-1
Блоки внутренних стен ВБ 18-3-3 (1.134-1) – унифицированные изделия, основной задачей которых является обеспечение надежных вертикальных несущих конструкций в каркасе здания, воспринимающих колоссальные горизонтальные нагрузки и обеспечивающих общую устойчивость несущей системы. Применяются для сооружения перегородочных стен жилых домов, с крупноблочными стенами, высотой в 5 и 9 этажей. Предназначены для обычных условий строительства. Применяются данные изделия в массе строительных проектов. Имеют достаточно продолжительный эксплуатационный срок.
Расшифровка маркировки
По условиям регламента Серии 1.134-1 маркируются блоки по буквенно-цифровой системе, состоящей из трех групп. Первая группа отражает тип блока и его габариты, вторая указывает на тип используемого бетона. Третья группа содержит конструктивные особенности, такие как: конфигурация блока, наличие проемов и вырезов, длина простенка. Рассмотрим более подробный разбор маркировки ВБ 18-3-3 (1.134-1):
1. ВБ – блок внутренний;
2. 18 – длина (в дм);
3. 3 – ширина (в дм);
4. 3 – высота (в дм).
Помимо этих обозначений, на конструкции наносятся несмываемой краской следующие информативные показатели: дата выпуска изделия, масса, наименование изготовителя, штамп ОТК. Внесение изменений в обозначение марок изделий не допускается. Марки изделий указываются на рабочих чертежах, в заказах завода изготовителя и на железобетонной продукции.
Материалы и производство
Изготовление блоков внутренних стен ВБ 18-3-3 (1.134-1) предусмотрено из тяжелого бетона марки 150 с обязательным применением кантователя, позволяющего производить распалубку с предварительным наклоном формы под углом не менее 40 градусов. Допускается применение изделий из конструктивного плотного бетона на пористых заполнителях марки 150 при условии обеспечения прочности и требований звукоизоляции конструкции. Армируются изделия сварными сетками. Изготовление сеток осуществляется контактной точечной электросваркой в соответствии с требованиями действующих нормативных документов. Для монтажных петель следует применять горячекатаную арматурную сталь класса AI. В блоках предусмотрены штрабы, ниши и отверстия для устройства скрытой электропроводки. Сквозные отверстия в изделиях, используемых в межквартирных стенах, заполняются цементным раствором после устройства электропроводки. Для защиты от коррозии лицевые поверхности закладных деталей покрываются антикоррозионной обмазкой слоем 0,5 мм. Лицевые поверхности блоков должны быть гладкими, подготовленными под окраску или оклейку обоями.
Готовые железобетонные изделия подлежат испытаниям прочность. Схемы проверочных испытаний следует согласовывать с учреждением, разрабатывающим проект строительного объекта. По итогам проверок изделия сопровождаются соответствующими сертификатами качества.
Транспортировка и хранение
Готовые конструкции хранятся на специально подготовленных складских площадках. Доставку блоков внутренних стен ВБ 18-3-3 (1.134-1) к месту монтажа следует производить в вертикальном положении на специальных панелевозах, имеющих приспособления, обеспечивающие неподвижность изделия и их лицевых поверхностей. Для сохранности изделий во время перевозки следует устанавливать между ними специальные подкладки. При погрузке и разгрузке блоков необходимо соблюдать технику безопасности, а также беречь изделия от разного рода механических повреждений.

