О товаре:
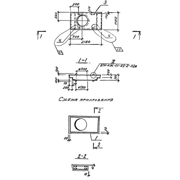
- Длинна: 21600 мм.
- Ширина: 1180 мм.
- Высота: 300 мм.
- Вес: 1480 кг.
- ГОСТ, Серия: Серия ВТИ КЖ 01-83 скачать
- Объем бетона: 0,53 м3
- Геометрический объем: 7,6464 м3
Стандарт изготовления изделия: Серия ВТИ КЖ 01-83
Плиты перекрытия П 3 б (ВТИ-КЖ 01-83) – прямоугольные изделия, имеющие в поперечном сечении трапециевидную форму. По торцевым сторонам конструкции расположены небольшие выступы длиной 200 мм, предназначенные для опирания на стеновые панели.
Уникальные плиты перекрытий используются в современном строительстве при возведении сборных железобетонных камер высотой 2,1 м, предназначенных для труб диаметром от 40 до 500 мм. Камеры служат для обустройства односторонних и двухсторонних ответвлений под компенсаторные устройства задвижек и других узлов водяных трубных тепловых сетей. В составе камеры приняты плиты перекрытия, которые помимо перекрывания верхней части сборной конструкции, могут выступать в качестве днища. При перекрытии камерного сооружения в месте отверстий монтируются люки, обеспечивающие свободный доступ для специализированного персонала. При использовании элементов в качестве днищ расположенные в плите отверстия оборудуются под приямок. При разработке конструкций учитывались требования СНиП II-21-75. Допускается использовать элементы в районах с сейсмичностью до 8 баллов в обычных грунтовых условиях.
Расшифровка маркировки
Для упрощения поиска необходимых строительных конструкций были разработаны специальные маркировочные обозначения. Их принято наносить несмываемой краской на поверхность каждого элемента. Совокупность знаков П 3 б (ВТИ-КЖ 01-83) имеет следующую трактовку:
1. П – тип конструкции – плита перекрытия;
2. 3 – порядковый номер типоразмера;
3. б – наличие отверстий и их количество (а – два, б – одно).
Не допускается внесение произвольных изменений в заводское маркировочное обозначение.
Материалы и производство
Основным нормативным документом, регламентирующим процесс изготовления плит перекрытия П 3 б (ВТИ-КЖ 01-83), является Серия ВТИ-КЖ 01-83. Главным материалом служит тяжелый бетон марки М300 по прочности на сжатие. Водонепроницаемость и морозостойкость подбираются индивидуально под условия каждого типового проекта.
В качестве арматуры принято использовать сварные каркасы и сетки, для изготовления которых стоит выбирать горячекатаную сталь класса AIII марки 25Г2С, AI марки ВСт3пс. Сталь должна соответствовать требованиям ГОСТ 5781-81. Дополнительно применяется высокопрочная проволока класса Bp-I по ГОСТ 6727-80. Петли следует делать из стали класса AI марки ВСт3сп2 и класс AII марки 10ГТ. Для закладных деталей необходимо использовать листовой прокат марки ВСт3пс6 по ГОСТ 380-71. Анкера закладных рекомендуется делать из стали класса AIII марки 25Г2С. Сбор металлоконструкций должен производиться контактной точечной сваркой по ГОСТ 14098-68.
Перед поставкой потребителю обязательно прохождение контрольных испытаний, по результатам которых выдаются соответствующие документы.
Транспортировка и хранение
Складирование и транспортировка унифицированных железобетонных плит перекрытий должна осуществляться в положении плашмя в штабелях. Высота штабеля должна удовлетворять требования правил техники безопасности СНиП III-4-80. Между рядами обязательно наличие изолирующих деревянных подкладок. Располагать подкладочный материал рекомендуется возле строповочных петель.
При погрузке необходимо обеспечить надежное опирание и фиксацию элементов для предотвращения продольных и поперечных смещений в процессе транспортировки. Следует беречь конструкции от возникновения любых механических повреждений, способных привести к непригодности для дальнейшей эксплуатации. Запрещен сброс, навал и перемещение волоком.

