О товаре:
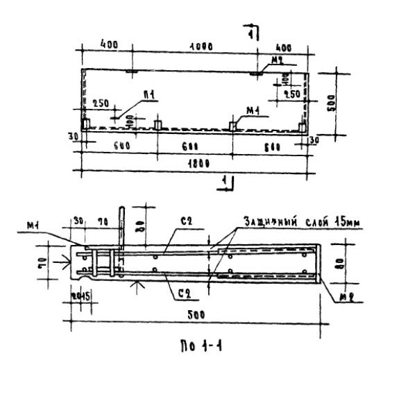
- Длинна: 1800 мм.
- Ширина: 500 мм.
- Высота: 80 мм.
- Вес: 168 кг.
- ГОСТ, Серия: Серия ИИ 03-02 скачать
- Объем бетона: 0,0673 м3
- Геометрический объем: 0,072 м3
Стандарт изготовления изделия: Серия ИИ 03-02
Плиты цветочниц Ц 4 представляют собой унифицированные железобетонные конструкции, имеющие прямоугольную форму. При рассмотрении изделия в поперечном сечении можно заметить, что элемент имеет скос, проходящий от одной торцевой грани к противоположной грани, обеспечивая ее сужения. Нижняя поверхность конструкции оснащена небольшим продольным полукруглым углублением, величиной 15 мм. Закладные детали на поверхности строительного материала позволяют обеспечить надежную фиксацию со смежными элементами.
Применяются индустриальные плиты цветочниц в сфере гражданского строительства при возведении жилых домов и общественных сооружений различного назначения. Изделия рассчитаны на нагрузку в размере 315 кг/м2 и сосредоточенный груз 100 кг. При разработке элементов учитывались требования и рекомендации СНиП II-B.1-62. Конструкции обладают высоким качеством поверхностей и продолжительным эксплуатационным сроком.
Маркировочные обозначения
На поверхность изделий наносятся масляной краской знаки, задача которых отразить ключевые характеристики конструкций. Их наличие в существенной степени ускоряет процесс поиска нужных строительных материалов. Совокупность символов Ц 4 имеет следующую расшифровку:
1. Ц - тип конструкции - плита цветочниц;
2. 4 - порядковый номер типоразмера изделия.
Не допускается вносить произвольные изменения в маркировочные знаки. Дополнительно на поверхности элементов нужно прописывать дату производства, массу и штамп отдела технического контроля.
Особенности производства
Регламентом, описывающим производственный процесс плит цветочниц Ц 4, требования к материалам и способы проверки качества, является Серия ИИ 03-02. По условиям нормативного документа для изготовления конструкций следует использовать бетон марки М200. Физико-химические свойства, такие как водонепроницаемость и морозостойкость, подбираются отдельно исходя из климатических особенностей в зоне строительства. Защитный бетонный слой должен иметь толщину не менее 15 мм.
Армируются конструкции сварными сетками, собираемыми с помощью контактной точечной сварки. Для их производства используется сталь класса AIII по ГОСТ 5781-61 с нормативным сопротивлением 4000 кг/см2 и холоднотянутая проволока класса BI по ГОСТ 6727-53 с нормативным сопротивлением 5500 кг/см2. Строповочные петли должны изготавливаться из стали класса AI с нормативным сопротивлением 2400 кг/см2 марки ВСт3. Закладные детали делаются с применением полосовой стали, отвечающей требованиям ГОСТ 103-57. Мероприятия по антикоррозионной защите конструкций следует проводить в соответствии с требованиями СНиП III-B.6-62. Рекомендуется покрывать металлические закладные детали слоем цинка по СН 206-62.
Плоскости, представленные на рабочих чертежах с отметкой в виде стрелочки, должны быть подготовлены под покраску. Контрольные испытания должны проводиться методами, прописанными ГОСТ 8829-53.
Транспортировка и хранение
Складирование и транспортировка плит цветочниц Ц 4 должны осуществляться с соблюдением техники безопасности и требований СНиП I-B.5-62. Важно производить укладку по специальным схемам, исключающим вероятность возникновения механических повреждений. Для осуществления погрузочно-разгрузочных работ рекомендуется использовать специализированную технику, оснащенную захватными механизмами, обеспечивающими равномерное распределение нагрузки в стропах. Важен поэтапный контроль на всех стадиях работы с железобетонными изделиями.

