О товаре:
- Длинна: 5400 мм.
- Ширина: 180 мм.
- Высота: 300 мм.
- Вес: 729 кг.
- ГОСТ, Серия: Серия 1.126 КР-1 скачать
- Объем бетона: 0,292 м3
- Геометрический объем: 0,2916 м3
Стандарт изготовления изделия: Серия 1.126 КР-1
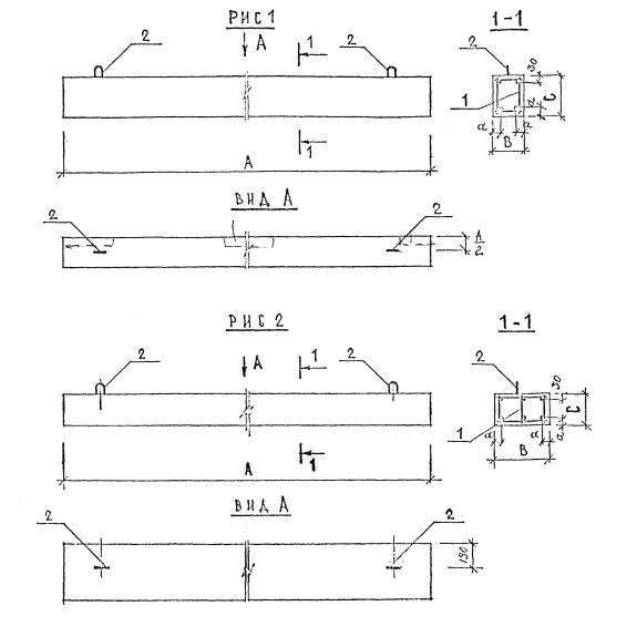
Балка БСУ 54-3 представляет собой сборный железобетонный прямоугольный элемент вытянутой формы. Является несущей конструкцией, основное предназначение которой создание опоры для межквартирных перегородок без проемов, выполненных из кирпича (толщина 20 см) или гипсокартона. Такие перегородки позволяют разделять квартиры между собой и с рабочими помещениями и должны быть не более 4 метров по высоте.
Разработаны данные балки для проведения капитального ремонта в городе Ленинград, но так же могут применяться и в других типовых проектах.
Расшифровка маркировки
Железобетонным изделиям в соответствии с рабочими чертежами присваиваются марки. Они состоят из нескольких буквенных и цифровых индексов, которые образуют группы, отражающих основную информацию об изделии. При рассмотрении маркировки БСУ 54-3, можно узнать, что:
1. БСУ - балка;
2. 54 - длина (дм);
3. 3 - высота (дм).
На всех готовых балках должны обозначаться маркировочные надписи, которые позволяют упростить сортировку и содержание на складе готовой продукции и проведения монтажных работ. Надписи штампуются или наносятся при помощи трафаретов нестираемой краской, и в них должны быть указаны: марки конструкций, краткое наименование предприятия производителя, дата выпуска и печать ОТК.
Материалы и производство
Железобетонные сборные балки БСУ 54-3 надлежит изготавливать с соблюдением всех требований и стандартов согласно Серии 1.126 КР-1, кроме того следует руководствоваться указаниями, указанными в ГОСТ 13015-75 и СНиП II-21-75. При производстве балок особое внимание должно уделяться подготовке опалубочных форм. Они должны быть тщательно зачищены от остатков бетона и обработаны смазывающими материалами, которые препятствуют сцеплению бетонной смеси с поверхностью формы.
Надежной основой балкам БСУ 54-3 служит тяжелый бетон с маркой по прочности на сжатие М300. Марка бетона по морозостойкости и водонепроницаемости не нормируются, прописываются при необходимости в спецификациях к каждому конкретному проекту.
Совместная работа бетонного массива и металла позволяет добиться изделиям особой прочности и стойкости к появлению трещин. Балки армируются пространственными каркасами, которые собираются в единое целое из плоских каркасов. В качестве рабочей продольной арматуры используется сталь класса АII, поперечной - АI. В теле конструкций запроектировано наличие четырех петель, позволяющих безопасно проводить подъем изделий и их монтаж.
Готовые сборные балки проходят приемочный контроль, в который входят испытания на прочность, жесткость, трещиностойкость, соответствие геометрическим размерам. К поставке потребителю допускаются изделия, успешно прошедшие испытания ОТК и достигшие отпускную прочность (не менее 70% от проектной прочности бетона).
Транспортировка и хранение
Необходимо организовывать хранение готовых железобетонных сборных балок БСУ 54-3 на обустроенных складах и площадках, при этом исключать любые действия, которые могут повлечь за собой повреждение целостности конструкций либо их петель. Изделия сортируются по маркам и видам и укладываются в штабеля. Между рядами в штабеля, а так же под нижний ряд устанавливаются инвентарные прокладки, обеспечивающие изделиям устойчивость и предохраняющие их от разрушения.
При перевозке балок автомобильным, железнодорожным, водным транспортом требуется следовать правилам и нормам погрузки, крепления груза, действующих на этих видах транспорта.

