О товаре:
- Длинна: 1350 мм.
- Ширина: 260 мм.
- Высота: 145 мм.
- Вес: 100 кг.
- ГОСТ, Серия: Серия Б1.055.1-1.01 скачать
- Объем бетона: 0,04 м3
- Геометрический объем: 0,0509 м3
Стандарт изготовления изделия: Серия Б1.055.1-1.01
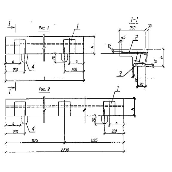
Площадочный вкладыш ЛСП 14 (Б1.055.1-1.01) является одним из элементов для обустройства лестничных сходов, выполненный путем сочетания бетона и арматуры. Г-образная форма изделия и наличие закладных стальных деталей обуславливают быстрый и легкий монтаж конструкции, устанавливаемой в конце марша и привариваемой к лестничной площадке. Итогом установки является формирование комфортной для спуска и подъема поверхности. По желанию заказчика вкладыш может выполняться с дополнительным декоративным слоем, который придаст более эстетичный вид всему лестничному сооружению. Различие в разновидностях ступенчатых подъемов (против и по часовой стрелке) объясняет наличие конструкций двух видов - левых и правых. Площадочные вкладыши эксплуатируются для обустройства внутренних и наружных лестничных маршей в зданиях и сооружениях различного назначения, с отоплением и без него. Также изделия могут применяться на открытом воздухе с температурой максимум до минус сорока градусов по Цельсию включительно.
Расшифровка маркировки
Буквенно-числовой индекс представляет марку железобетонного площадочного вкладыша, именно в нем содержится информация в кратком сжатом виде об основных характеристиках изделия. Так, если рассмотреть расшифровку ЛСП 14 (Б1.055.1-1.01) более подробно, то можно узнать следующее:
1. ЛСП - лестничный площадочный вкладыш;
2. 14 - длина в дм.
Контрастной водостойкой краской на готовой конструкции при помощи штампов или трафарета наносится дата выпуска, название производителя, штамп отдела технического контроля, и непосредственно, сама маркировка.
Материалы и производство
Регламент Серия Б 1.055.1-1.01 является ключевым нормативом, на который основываются при изготовлении вкладышей. Для того чтобы на выходе производственного процесса получился прочный, долговечный и качественный строительный элемент, соблюдаются четко все этапы технологии выпуска ЛСП 14 (Б1.055.1-1.01), сопровождающиеся пооперационным контролем. Одним из основных материалов для формования вкладыша является тяжелый бетон по прочности на сжатие не ниже В15, плотностью 2400 кг/м3. В случае эксплуатации конструкции для наружных лестничных маршей или для внутренних лестниц в постройках до пяти этажей, класс бетона определяется при проектировании. Марка бетонной смеси по морозостойкости устанавливается в индивидуальном порядке, но должна быть не ниже F100 (исключение составляют вкладыши, применение которых будет осуществляться в агрессивных средах). Отпускная прочность бетона в холодный период года равна 85%, а в летний период данный показатель должен быть не менее семидесяти процентов.
Стальной «скелет» будущего вкладыша формируется благодаря процессу армирования, который является обязательным при создании долговечного монолита. Армирование ЛСП 14 (Б1.055.1-1.01) осуществляется сварной арматурной сеткой, составленной из стержней из стали класса А-I, А-II и А-III, с применением обыкновенной арматурной проволоки класса Вр-I.
Лицевая верхняя поверхность готового вкладыша должна удовлетворять категории А2. Приемка готовых элементов лестниц по основным физико-техническим показателям осуществляется по результатам периодических испытаний в соответствии с требованиями ГОСТ 13015.1.
Хранение и транспортировка
Складирование вкладышей производится в контейнерах или в уложенном в плотно сформированный штабель виде. Использование деревянного инвентаря является обязательным, прокладка осуществляется через каждое изделие. Перевозят ЛСП 14 (Б1.055.1-1.01) в контейнерах или в специальных пакетах, различными видами специализированного транспорта, с применением креплений, которые помогут избежать смещения конструкций, их навалов и сколов.

