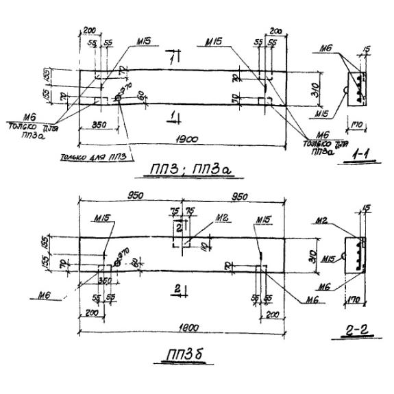
Стандарт изготовления изделия: ТП 905-7
Плита перекрытия ПП 3 (ТП 905-7) является универсальным плоским прямоугольным изделием, созданным путем соединения плотного бетона и высокопрочной арматуры в единый монолит. Универсальность конструкций обусловлена обширностью сфер применения - эксплуатация элемента предполагает обустройство водосборных, канализационных колодцев, а также газопроводных систем. В таких сооружениях плита перекрытия венчает ствол железобетонной конструкции и, располагаясь на одном уровне с грунтом, создает герметичность колодца, и тем самым защищают его шахту от действий внешней среды. Для удобства проникновения в колодец и для создания его надежной вентиляции, в плите перекрытия имеется унифицированное отверстие, на которое устанавливается чугунный люк. ПП 3 (ТП 905-7) является изделием, разработанным по конкретному регламенту - ТП 905-7, который рекомендует применение конструкций для унифицированных колодцев для подземных трубопроводов, устанавливаемых на глубокое и мелкое заложение, в районах с температурой воздуха не ниже -40 градусов по Цельсию, на сейсмически активных площадках и местностях горных выработок при различных грунтовых условиях (сухие, влажные, водоносыщенные, просадочные грунты).
Расшифровка маркировки
Для того чтобы обозначить железобетонное изделие, ему присваивается маркировка, состоящая из буквенно-числовой аббревиатуры, каждый символ которой содержит в себе информацию о конструктивных особенностях плиты. Так расшифровка ПП 3 (ТП 905-7) будет выгладить следующим образом:
1. ПП - плита перекрытия;
2. 3 - типоразмер.
Марка прописывается на поверхности готового изделия контрастной водостойкой краской. Дополнительно рядом с маркой могут быть указаны вес в килограммах, датировка, название завода, штамп ОТК.
Материалы и производство
Для того чтобы изготовить качественную железобетонную плиту перекрытия нужных габаритов и с наличием необходимых технических характеристик, производитель руководствуется пометками, чертежами и спецификациями из норматива ТП 905-7. В качестве основы для производства ПП 3 (ТП 905-7) используется бетон марки М300, ингредиенты которого грамотно подобраны, а также качественно смешаны и уплотнены. Марки бетонной смеси по морозостойкости и водонепроницаемости устанавливаются в индивидуальном порядке, в зависимости от климатических особенностей строительной площадки и режима эксплуатации.
Для создания прочного и надежного внутреннего «скелета» прямоугольной плиты перекрытия, который поможет избежать разрушения бетона и справиться с постоянными и временными нагрузками, используется стальная арматурная сетка. Такая сетка выполняется из стержней из стали класса А-III и проволоки В-I, каждое пересечение которых, сваривается контактной сваркой. Закладные детали изготавливаются из стали марок ВСТ 3 кп или ВСТ 3 пс (в зависимости от температуры). Закладные и соединительные элементы в обязательном порядке защищаются антикоррозийными составами.
Готовой считается только та плита, которая прошла комплекс испытаний и проверок, а также контроль качества.
Хранение и транспортировка
Железобетонные плиты перекрытия складируют в заранее спланированных помещениях с ровным и плотным основанием и уклоном для отвода жидкости. Размещение конструкций происходит в штабелях (высота максимум 2,5 метра), в горизонтальном положении. Каждый слой штабеля прокладывается инвентарем из сухой древесины. Перевозку важно осуществлять специализированным транспортом, располагающим наличием креплений и фиксирующих устройств.

