Стандарт изготовления изделия: ТП 905-7
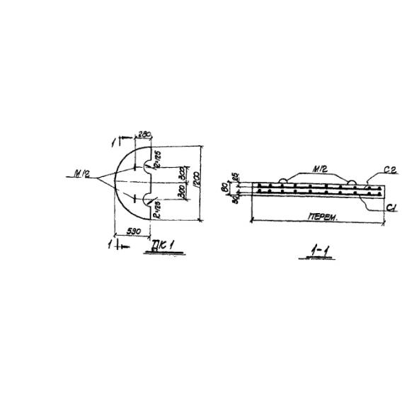
Плита днища ДК 1 (ТП 905-7) представляет собой плоскую конструкцию, выполненную путем соединения бетона и арматуры и оснащенную рядом стальных закладных деталей. Регламент изготовления изделий ТП 905-7 предусматривает применение плит для обустройства унифицированных круглых и прямоугольных колодцев для подземных газопроводов. Разнообразие по форме колодцев обуславливает различие в формах плит днищ - конструкции могут быть как квадратного, так и круглого сечения. При эксплуатации ДК 1 (ТП 905-7) вместе с колодцем заглубляется в грунт на глубокое или мелкой заложение и устанавливается на песчаную подготовку толщиной 100 миллиметров. Климатическими условиями, допустимыми на строительной площадке, где применяется данная плита, являются: расчетная температура до -40 градусов по Цельсию, районы горных выработок при различных грунтовых условиях (сухие, влажные, водонасыщенные, просадочные грунты), несейсмические регионы и сейсмические активные площадки.
Расшифровка маркировки
Элементы железобетонного колодца обладают буквенно-числовым шифром, главной целью которого является содержание основной информации о габаритах, конструктивных особенностях и материалах, в кратком сжатом виде. Так расшифровка маркировки ДК 1 (ТП 905-7) будет выглядеть следующим образом:
1. ДК - название изделия - плита днища круглая;
2. 1 - типоразмер.
Марка прописывается на поверхности готового изделия контрастной водостойкой краской. Дополнительно рядом с маркой могут быть указаны вес в килограммах, датировка, название завода, штамп ОТК.
Материалы и производство
В нормативе ТП 905-7 прописаны основные материалы для проектирования и приложены рабочие чертежи для изготовления железобетонных плит днищ с заданными габаритами и техническими характеристиками. Технология создания качественного железобетонного изделия включает в себя несколько этапов, которые сопровождаются пооперационным контролем. В качестве основы для ДК 1 (ТП 905-7) используется бетонная смесь марки М300, которая относится к тяжелым, литым бетонам. Данный состав получается путем рациональной подборки ингредиентов, таких как цемент, вода, мелкие и крупные заполнители, их смешивания и уплотнения. Марки бетона по морозостойкости и водонепроницаемости назначаются в проекте общего сооружения, с учетом эксплуатационных особенностей и климатических условий строительной площадки.
Для того чтобы плита днища колодца не разрушилась во время использования под влиянием постоянных нагрузок (вертикальное и горизонтальное давление грунта, собственный вес, гидростатический напор воды) и временных воздействий (автомобильный вес), конструкция армируется. Армирование определяют как дополнительное укрепления бетонного изделия посредством добавления в него сваренных между собой стальных элементов. Так армирование ДК 1 (ТП 905-7) осуществляется сварной сеткой, собранной из стержней из стали классов А-I и А-III, с использованием проволоки класса В-I. Применяемые для сопряжения плиты со смежными конструкциями закладные детали, выполняются из профильной стали марки ВСТ 3 кп или ВСТ 3 пс (в зависимости от температурных режимов).
Изделиям, которые успешно прошли испытания на прочность, жесткость и трещиностойкость, присваивается паспорт качества.
Хранение и транспортировка
Плиты складируют в заранее спланированных помещениях с ровным и плотным основанием и уклоном для отвода жидкости. Размещение конструкций происходит в штабелях (высота максимум 2,5 метра), в горизонтальном положении. Каждый слой штабеля прокладывается инвентарем из сухой древесины. Перевозку важно осуществлять специализированным транспортом, располагающим наличием креплений и фиксирующих устройств.

