О товаре:
- Длинна: 3300 мм.
- Ширина: 2700 мм.
- Высота: 300 мм.
- Вес: 11000 кг.
- ГОСТ, Серия: Серия 3.015-8/84 скачать
- Объем бетона: 4,4 м3
- Геометрический объем: 2,673 м3
Стандарт изготовления изделия: Серия 3.015-8/84
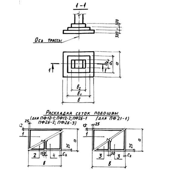
Плита фундамента ПФ 12-1 (3.015-8/84) - это ступенчатое прямоугольное изделие на основе армированного бетона, также называемое «подошва». Такие конструкции могут быть с одной, двумя или тремя ступенями, согласно регламенту изготовления плит. Традиционно, плиты фундамента используется совместно с подколонником «стаканом», при соединении данных железобетонных элементов образуется фундамент, отличающийся прочностью и стойкостью к статическим и динамическим нагрузкам. Колонна или стойка помещается в отверстие фундамента, который в свою очередь принимает и распределяет нагрузку от сооружения в самых ответственных точках. Серия изготовления плит 3.015-8/84 предписывает эксплуатацию данных изделий для строительства эстакад и отдельно стоящих опор под технологические трубопроводы, строящиеся на естественном основании, в районах с зимней температурой воздуха до -55 градусов по Цельсию.
Расшифровка маркировки
Все железобетонные элементы, предназначенные для конструкции опор, наделены определенной маркой, которая состоит из букв и чисел, объединённых в одну общую систему. Каждая группа марки содержит в себе данные об основных характеристиках изделия. При рассмотрении расшифровки ПФ 12-1 (3.015-8/84), можно увидеть следующее:
1. ПФ - плита фундамента;
2. 12 - индекс, характеризующий габаритные размеры изделия;
3. 1 - несущая способность.
Маркировку продукции можно увидеть на готовом железобетонном изделии, на торцевой его части. Также там помимо марки, несмываемой краской, прописаны дата изготовления, масса плиты в килограммах, товарный символ производителя и штамп отдела технического контроля.
Материалы и производство
Серия 3.015-8/84 регламентирует производство плит фундамента. При изготовлении железобетонных конструкций должен быть обеспечен пооперационный технологический контроль на всех стадиях производства. Основное применяемое сырье для изготовления ПФ 12-1 (3.015-8/84) это бетон марки М150, в состав которого входят цемент, песок, крупный заполнить, вода и химические добавки, в правильно подобранных пропорциях. Марки бетонной смеси по морозостойкости и водонепроницаемости указываются разработчиком конкретных проектов, с учетом эксплуатационных особенностей.
Для того чтобы избежать разрушения плиты фундамента, в нее закладывают стальную арматуру, поверхность которой отлично сцепляясь с бетоном, образует монолитное изделие. Плита ПФ 12-1 (3.015-8/84) армируется плоскими сварными сетками из арматуры класса А-III.Сетки укладываются по высоте в два ряда, с взаимно перпендикулярным расположением рабочей арматуры.
Контрольные испытания на прочность, жесткость и трещиностойкость являются завершающим этапом производственного процесса. Благодаря им определяется то, на сколько изделие качественно выполнено.
Хранение и транспортировка
Железобетонные плиты фундамента должны храниться на складе с ровным плотным полом, а также с уклоном для отвода влаги. Изделия укладываются в проектном положении на деревянные подкладки, которые помогают избежать появления сколов на поверхности. Погрузочно-разгрузочные работы необходимо осуществлять с особой осторожностью. Не допускается свободное падение конструкций, а также перемещение их по земле волоком. Перевозить ПФ 12-1 (3.015-8/84) важно специализированным транспортом, обладающим необходимой грузоподъемностью. При перевозке строительные элементы должны фиксироваться с помощью специальных креплений. При соблюдении всех правил и мер безопасности обеспечивается сохранность и целостность продукции.

