О товаре:
- Длинна: 1200 мм.
- Ширина: 320 мм.
- Высота: 125 мм.
- Вес: 276 кг.
- ГОСТ, Серия: Проект 998 скачать
- Объем бетона: 0,12 м3
- Геометрический объем: 0,048 м3
Стандарт изготовления изделия: Проект 998
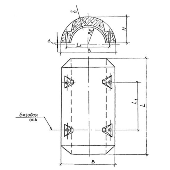
Утяжелители сборные кольцевые 2УТК 325-12 – изделия группы сборного железобетона. Представляют собой элементы балластировки трубопроводов, проложенных в "сложных" гидрогеологических условиях, например, заболоченной или обводненной местности. Кольцевой пригруз конструктивно представляет собой полукольцо или корытообразную емкость (в точности повторяет радиус трубы). Для соединения элементов между собой конструкция имеет три "ушка" под крепеж шпильками и гайками, либо соединительный пояс, изготавливаемый из полимерных материалов. При монтаже два полукольца соединяют между собой, образуя единое кольцо – "скорлупу".
1. Варианты написания маркировки
Знаки условного обозначения утяжелителей пишут в следующих вариациях:
1. 2УТК 325-12;
2. 2УТК 325,12;
3. 2УТК 325.12.
2. Основная сфера применения
Кольцевые утяжелители 2УТК 325-12 применяют для обеспечения устойчивости трубопроводов, проложенных на заболоченных и обводненных участках. Благодаря тому, что элементы создают некое давление на трубу, то есть создают пригрузку, обеспечивается нормальная балластировка и фиксирование трубопроводной ветки. Утяжелители активно функционируют и в сооружениях, которые работают под отпором грунта (пассивное давление). Полукольца УТК не монтируют на участках трубопроводов, линейные УТК продольные перемещения которых превышают 40 мм. Раскладка утяжелителей и протяжка плети нефтепровода выполняется кранами-трубоукладчиками и специализированной бригадой. На прямолинейных участках пригрузы раскладывают с разрядкой, а на криволинейных – вплотную. Эти данные отражаются в маркировке (последняя цифра). При монтаже обязательному контролю подлежит величина зазора, образуемого между футеровочными деревянными матами и внутренней поверхностью полукольца.
Допускается эксплуатировать кольцевые утяжелители для балластировки магистральных линий, проложенных в летних условиях на переходных местах через болота с мощными торфяными прослойками, а также на обводненных участках, в поймах рек и сложных вечномерзлотных грунтах. Применение блоков должно быть подкреплено прочностными расчетами, а также обосновано условиями рабочего проекта и определенными условиями эксплуатации (например, рассматриваются инженерные гидрогеологические условия трассы, рельеф местности и прочие параметры). Обратите внимание, что нижний пояс полуколец укладывается до монтажа трубопровода, а верхний пояс замыкают после монтажа труб на проектные отметки.
3. Обозначение маркировки
Маркировочные знаки формируют по условиям действующего регламента – Проект 998. В буквенно-цифровую комбинацию входят данные о типоразмере, типе конструкции, диаметре балластируемой трубы и длине изделия. Маркировка 2УТК 325-12 читается следующим образом:
1. 2УТК - утяжелитель кольцевой 2 типоразмера,
2. 325 - диаметр, рассчитанный под установку магистрального трубопровода,
3. 12 - длина.
Знаки наносят на торцевую грань черной краской.
Характеристики:
Длина = 1200;
Ширина = 320;
Высота = 125;
Вес = 276;
Объем бетона = 0,12;
Геометрический объем = 0,048.
4. Применяемые технологии и материалы
Утяжелители 2УТК 325-12 изготавливают методом вибропрессования, при этом отгрузка готовой продукции с завода-производителя допускается только после проведения приемо-сдаточных испытаний в соответствии с требованиями действующих стандартов и нормативов. К применяемым материалам предъявляют самые жесткие требования по качеству, которое должно повышаться в зависимости от вида и степени засоленности грунтов. Для этого используют конструкционные бетоны марки прочности М300, морозостойкости F100, водонепроницаемости W4 и высокой трещиностойкости.
В исходный состав для повышения эксплуатационных показателей вводят пластификационные, воздухововлекающие и прочие добавки, повышающие химическую и биологическую стойкость бетона. Помимо этого, выполняется вторичная защита бетонной поверхности (чаще всего выполняют гидроизоляцию), что гарантирует надежность и долговечность эксплуатации кольцевых пригрузов. Металлические детали, которые не покрываются слоем бетона, подвергают специальной обработке составами, предотвращающие коррозионные развития.
5. Транспортировка и хранение
Массивные утяжелители 2УТК 325-12 транспортируют автомобильным, железнодорожным или речным спецтранспортом. Складывают полукольца в один ряд на опорные лапки. Каждое изделие четко фиксируется и изолируется от других деревянными досками. Погрузо-разгрузочные работы выполняет спецтехника. Все операции выполняют корректно, продукцию берегут от ударов, навала и перемещения волочением. Складирование осуществляется штабелями. Оптимально формировать 2-3 ряда. Используется схема укладки в шахматном порядке.

