О товаре:
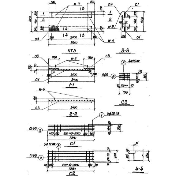
- Длинна: 3400 мм.
- Ширина: 1190 мм.
- Высота: 230 мм.
- Вес: 2330 кг.
- ГОСТ, Серия: Серия НК 029 скачать
- Объем бетона: 0,93 м3
- Геометрический объем: 0,9306 м3
Стандарт изготовления изделия: Серия НК 029
Плиты перекрытия ПТ 5 и – это унифицированные железобетонные изделия для промышленного строительства, которые входят в состав Серии НК 029 – типового проекта по выпуску сборных железобетонных тоннелей. Об основном предназначении этих прямоугольных конструкций догадаться не сложно: они нужны для перекрытия лотковых элементов подземных коммуникационных тоннелей и обеспечения надежной герметизации внутреннего пространства. За счет своей большой массы плиты не сдвигаются и не нарушают целостности конструкции ни при каких обстоятельствах. Они служат отличной защитой подземных коммуникаций и легко выдерживают довольно внушительные нагрузки.
1. Варианты маркировки
Маркирование ЖБ строительных материалов должно осуществляться в полном соответствии с действующими стандартами. Это предполагает написание марки железобетонных плит перекрытия тоннелей несколькими одинаково актуальными и применяемыми способами:
1. ПТ 5;
2. ПТ 5-1;
3. ПТ 5-2;
4. ПТ 5-3;
5. ПТ 5д;
6. ПТ 5д-1.
2. Основная сфера применения
Подобные изделия чаще всего применяются для обустройства теплотрасс и прочих инженерных коммуникаций в обычных климатических условиях и неагрессивной среде. Сборные ЖБ тоннели не боятся постоянного контакта с влагой, не подвержены коррозийным процессам и обладают стойкостью к температурным перепадам, а потому спрос на плиты перекрытия ПТ 5 и, как на одни из основных элементов подобных установок, довольно велик. Задействование этих прочных изделий гарантирует высокую надежность и долговечность подземных каналов.
3. Обозначения маркировки изделия
Маркировка элементов перекрытия сборных железобетонных тоннелей изображается в виде нескольких последовательных групп буквенно-цифровых обозначений. Она указывает на типоразмер изделия и его основные конструктивные особенности. Так по марке ПТ 5 и про материал можно сказать следующее:
1. ПТ – плита перекрытия тоннеля;
2. 5 – порядковый номер элемента.
Такие обозначения при маркировании продукции перед отправкой на склад дополняются и более полными данными о размерных параметрах:
Длина = 3400;
Ширина = 1190;
Высота = 230;
Вес = 2330;
Объем бетона = 0,93;
Геометрический объем = 0,9306.
Данные наносятся на боковые грани каждого десятого элемента выпущенной партии с помощью стойкой черной краски. Они способствуют упрощению процесса сортировки продукции и несут в себе всю необходимую информацию о конкретном типоразмере.
4. Изготовление и основные характеристики
Изготовление элементов ЖБ тоннелей осуществляется с учетом технических условий, прописанных в типовом проекте Серия Серии НК 029. Плиты ПТ 5 и делаются из тяжелого бетона марки прочности на сжатие М300, который по готовности сможет выдерживать вплоть до 300 циклов замораживания и оттаивания. Для армирования берутся сварные сетки и каркасы из стали классов А-І, А-ІІ и А-ІІІ. При этом рабочие участки арматуры должны покрываться бетонным раствором не менее чем на 20 мм. Выпуск подобных изделий допускается лишь на специализированных заводах железобетонных конструкций для промышленного строительства, где налажено современное, оборудованное всем необходимым производство.
По стандарту изготовление плит происходит в специальных стальных опалубочных формах и делится на несколько стадий. Алгоритм включает закрепление в проектном положении металлического каркаса, подачу бетонной смеси, формовку с возможным применением вибрационного оборудования, термическую обработку в автоклавах до достижения бетоном отпускной прочности, которая составляет 70% от проектной марки, и распалубку. После распалубки подъем изделий на высоту может осуществляться исключительно за подъемные петли. Плиты маркируются с помощью особых трафаретов с официально утвержденным шрифтом и направляются на приемку, в ходе которой каждая партия подвергается тщательным проверкам на предмет недопустимых отклонений.
5. Транспортировка и хранение
Перевозка ЖБ плит перекрытия тоннелей ПТ 5 и осуществляется в положении «на ребро» с обязательным применением деревянных подкладок и прокладок в местах расположения подъемных петель. Такие же инвентарные материалы используются и при хранении. Кроме того во время транспортировки важным условием сохранности всех стройматериалов является тщательная фиксация плит с помощью специальных крепежных систем.
На стадии складирования в пределах подготовленных крытых площадок изделия укладывают штабелями высотой не более чем в 2,5 метров. При этом важно обеспечить хорошую просматриваемость маркировочных обозначений и свободный доступ соответствующей подъемной техники к каждому отдельному штабелю изделий. Сброс плит, навал материалов, их перемещение волоком и прочее халатное отношение на складских площадках не допускается.

