О товаре:
- Длинна: 3200 мм.
- Ширина: 750 мм.
- Высота: 800 мм.
- Вес: 4500 кг.
- ГОСТ, Серия: Серия 3.702.1-4 скачать
- Объем бетона: 1,8 м3
- Геометрический объем: 1,92 м3
Стандарт изготовления изделия: Серия 3.702.1-4
Капители КАП 1 представляют собой элементы сборных железобетонных конструкций, устанавливаемые сверху на колонны в силосных сооружениях. Являясь частью несущей конструкции, они изготавливаются из высококлассных прочных материалов, благодаря которым могут эксплуатироваться в условиях высоких нагрузок. Серия включает несколько типов капителей, применяемых для монтажа в разных частях конструкции, отличающихся наличием закладных изделий, отверстий. Разнообразие конструкций позволяет более полно решить задачи заказчиков в строительстве объекта, упрощают процессы сборки.
1. Варианты маркировки
В зависимости от проекта, применяются различные марки капителей (расшифровку смотрите ниже):
1. КАП 1;
2. КАП 2.
2. Основная сфера применения
Главной задачей, которую выполняют капители КАП 1, является восприятие нагрузок и передача несущим элементам конструкции. Разработаны и спроектированы изделия для использования вместе с другими элементами Серии 3.702.1-4 для строительства силосных сооружений предприятий, специализирующихся на переработке и хранении зерна. Здания, разработанные в этой серии, имеют подсилосный этаж, оборудуемый сеткой 3х3 м из колонн с квадратным сечением и капителями, на которые устанавливаются воронки, плиты днищ. Так же здания имеют рабочие силосные – 1 или несколько этажей, могут иметь надстройки, как правило, из нескольких этажей – элементы для их сборки так же спроектированы и включены в серию. Высота каждого этажа может отличаться – в связи с этим различаются и строительные элементы – по размерам и свойствам. Различные варианты капителей вместе с колоннами используются в подсилосном этаже, где нагрузки наиболее высоки, создавая надежные узлы между несущими элементами конструкции. Сетка из колонн применяется и при каркасно-монолитном, и при сборном способе возведения силосных сооружений. Капители, разработанные в рамках серии, предназначены для использования в неагрессивной среде, с непросадочными грунтами, нормальной сейсмичности и расчетной температуре до -40 С. Использование в других условиях должно быть отображено в проекте заказчика, элементы конструкции рассчитаны и изготовлены индивидуально для проекта с особыми условиями.
3. Обозначение маркировки
Изделия с различными характеристиками, отличаются и маркировкой – буквенно-цифровыми группами, дающими основную информацию о капителях, на примере капителей КАП 1:
1. КАП – капитель бетонная;
2. 1 – индекс несущей способности.
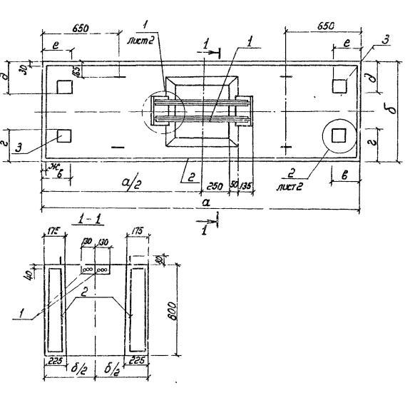
Капители КАП 1 имеют следующие габаритные размеры:
Длина = 3200;
Ширина = 750;
Высота = 800;
Вес = 4500;
Объем бетона = 1,8;
Геометрический объем = 1,92.
4. Материалы изготовления и характеристики изделия
Для производства несущих элементов конструкции сборных и каркасно-монолитных железобетонных строений применяют материалы высоких классов, способные придать готовой продукции требуемую прочность, надежность и долговечность. Бетоном класса В 30 по прочности на сжатие заливают пространственный каркас, изготовленный сварным методом из арматуры класса А-111. До заливки бетоном выполняется крепление закладных монтажных изделий, покрытие каркаса антикоррозийной смесью, обеспечивающей долговечность конструкции. После достижения бетоном требуемой прочности, продукция проходит контрольные процедуры, подтверждающие качество и характеристики капителей КАП 1, после чего документируется, маркируется и поставляется заказчику. При строительстве в условиях, отличных от предусмотренных проектом, использование элементов серии допускается, но с применением защитных мер. Морозостойкость увеличивается производителем в соответствии с проектом заказчика, для монтажа в просадочных грунтах разрабатывается проект монтажа, обеспечивающий надежность и целостность конструкции.
5. Складирование, транспортировка и хранение
При транспортировании и хранении капителей КАП 1 необходимо учитывать требования к обращению с железобетонной продукцией. Для того, чтобы сохранить свойства, заложенные производителем, следует обеспечить аккуратное и бережное обращение с железобетоном – исключить удары и трения изделий друг о друга и транспорт при погрузочных работах, перевозках. Для этого при транспортировании, изделия тщательно закрепляют, исключив смещения и падения. Использовать спецтехнику для перемещения капителей. Складировать на деревянные подкладки, длиной не менее ширины изделия. Устанавливая по маркам в штабели высотой до 2 метров, использовать прокладки из дерева. Важно обеспечить защиту продукции от агрессивных железобетону веществ (воды и других), поэтому хранение выполняется в складских условиях. Нарушение правил обращения с капителями может привести к появлению сколов, трещин, деформации каркаса, закладных элементов, в результате которых они станут непригодны для монтажа и эксплуатации.

