О товаре:
- Длинна: 3039 мм.
- Ширина: 1350 мм.
- Высота: 295 мм.
- Вес: 2100 кг.
- Объем бетона: 0,84 м3
- Геометрический объем: 1,2103 м3
Лестничные марши без фризовых ступеней 1ЛМ 30-13-15-5 применяют при возведении многоэтажных зданий. В современном строительстве наиболее часто применяют железобетонные изделия, так как это наиболее прочные и долговечные элементы. Применение того или иного вида лестничного марша определяется проектом. Технологии, материалы и основные размеры по каждому изделию закрепляются действующими Стандартами и обязательны для исполнения.
Лестничные марши без фризовых ступеней 1ЛМ 30-13-15-5 – это прямые железобетонные элементы, не имеющие выступов для крепления с лестничной площадкой. За счет уникальных свойств материалов, из которых изготавливают данные изделия, их применяют в различных климатических условиях. По сути, это наклонная часть лестницы, которая содержит монолитный ряд ступеней определенного размера. За счет отсутствия сборных элементов значительно упрощается монтаж конструкций (располагают марш на несущих балках).
1.Варианты написания маркировки.
Обозначение производится согласно Серии 1.151.1-7 и включает буквенно-цифровую группу с обязательным дополнением по унифицированной вертикальной нагрузке, а также по уникальным проектным особенностям (в данном случае указывается буквенная аббревиатура). Варианты написания маркировочных знаков следующие:
1. 1ЛМ 30-13-15-5;
2. 1ЛМ 30.13.15.5.
2.Основная сфера применения.
Лестничные марши без фризовых ступеней 1ЛМ 30-13-15-5 применяются в строительстве гражданских и промышленных объектов различного назначения. Плоские марши используются для конструирования двухмаршевых лестниц для зданий большой этажности (10 этажей и более). Это основная конструкция для соединения этажей в здании.
Плоская конструкция в цельном исполнении легко стыкуется с площадками, тогда как сборные элементы в монтаже – более трудоемки. Часто 1ЛМ 30-13-15-5 применяется для панельных и каркасно-панельных домов, могут использоваться в различных промышленных строениях. За счет высокой прочности, долговечности и простоте в монтаже эти конструкции нашли широкое применение в строительной сфере.
Прямые марши – это оптимальное решение для малоэтажного частного возведения домов. Серия 1.151.1-7 предполагает нормирование и изготовление лестничных конструкций с отсутствием фризовых ступеней. Количество ходовых ступеней может варьироваться от 3 до 18 штук. Благодаря своим высоким эксплуатационным характеристикам лестничные марши 1ЛМ 30-13-15-5 применяются в условиях повышенной сейсмичности (включительно до 9 баллов по шкале Рихтера). Кроме того, данные конструкции отвечают по требованиям огнестойкости (согласно Серии 1.151.1-7 – стойкость устанавливается – минимум 1 час без видимых разрушений).
3.Обозначение маркировки изделий.
Маркировка производится согласно действующему Стандарту – Серия 1.151.1-7, согласно которой указывается тип изделия. Размерный ряд и унифицированная вертикальная нагрузка. Рассмотрим буквенно-цифровую комбинацию 1ЛМ 30-13-15-5 :
1. 1 – прямой марш лестничный;
2. ЛМ – лестничный марш прямой;
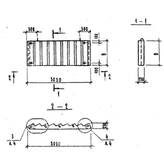
3. 30 – длина, указывается в дц.;
4. 13 – ширина, указывается в дц.;
5. 15 – высота, указывается в дц. (число округляется до целого);
6. 5 – вертикальная нагрузка, указывается в кПа.
Лестничные марши без фризовых ступеней 1ЛМ 30-13-15-5 имеют следующие основные параметры:
1. Длина – 3039 ;
2. Ширина марша – 1350 ;
3. Высота по вертикальной плоскости – 295 ;
4. Масса – 2100 ;
5. Геометрический объем изделия – 1,2103 ;
6. Объем бетона на одно изделие – 0,84 ;
7. Буквенные аббревиатуры: "Л" – движение против часовой стрелки; "Г" – глянцевая поверхность; "П" – бетон, из которого изготовлен марш, на пористых заполнителях; "С" – сейсмоустойчивость.
Все условные обозначения наносят на боковой грани марша, которая располагается к стене, также маркировка может быть выполнена на нелицевых поверхностях накладных проступей несмываемой черной краской. Дополнительно указывается товарный знак компании-производителя, номер партии и дата производства.
4.Основные материалы для изготовления и характеристики.
Основные материалы для изготовления лестничных маршей без фризовых ступеней 1ЛМ 30-13-15-5 – это бетоны тяжелых марок, но могут применяться и бетоны на пористых заполнителях, что определяется проектом. Марка по прочности на сжатие должна соответствовать пределу М300 (гладкая поверхность готовых изделий). Истираемость лестничного марша не превышает 0, 9 г/см2, что позволяет эксплуатировать сооружения с максимальной интенсивностью. Бетоны отвечают также требованиям по трещиностойкости, свойствам водонепроницаемости (марка не менее чем W2) и морозостойкости. Допускается не менее 100 циклов замораживания-размораживания.
Для большей прочности марш подвергают армированию. Для этого используют горячекатаную стальную проволоку класса AIII и Вр-1. Из прутков изготавливается пространственный каркас тип КП4 (1 шт.) методом контактно-точечной сварки. В тело плиты также закладывают металлически петли для строповки – тип М1 (3 шт.). Все металлические элементы подвергают антикоррозионной обработке.
5.Транспортировка и хранение.
Транспортировка производится спецтранспортом. Все изделия 1ЛМ 30-13-15-5 укладывают в горизонтальное положение "на ребро" и надежно закрепляют. Для того чтобы конструкция не была повреждена, все элементы прокладывают деревянными досками или иным изоляционным материалом толщиной не менее 30-40 мм. при погрузочно-разгрузочных работах не допускается нарушение правил техники безопасности, все марши разгружают только с использованием подъемного крана, используются однорогие крюки. Не допускается сброс изделий и их навал. Хранение производится также в горизонтальном положении, штабеля не должны превышать 2,5 м.

