О товаре:
- Длинна: 5650 мм.
- Ширина: 1150 мм.
- Высота: 1800 мм.
- Вес: 2380 кг.
- ГОСТ, Серия: Серия 1.050.1-3 скачать
- Объем бетона: 0,95 м3
- Геометрический объем: 11,6955 м3
Стандарт изготовления изделия: Серия 1.050.1-3
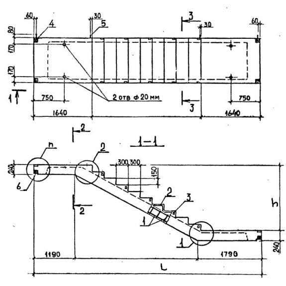
Лестничные марши ребристые с полуплощадками ЛМП 57-11-18-5-1 - достаточно массивное изделие, выполненное из сборного железобетона. Данный конструктивный элемент разработан для сооружения подъемов между этажами. Лестничный марш представляет собой, набор ступеней объединенных друг с другом, также оснащенный полуплощадками. Изделие разработано для применения в многоэтажных производственных и общественных зданиях.
Рабочие чертежи лестничного марша содержит Серия 1.050.1-3, также серия содержит рекомендации по эксплуатированию и изготовлению данного изделия. Применение лестничного марша значительно упрощает строительный процесс.
1.Расшифровка маркировки
Лестничные марши, как и все железобетонные изделия, имеет свое условное обозначение. Маркировка представлена посредством буквенно-числовых групп, каждая из которых несет информационную нагрузку. Рассмотрим расшифровку маркировки на примере ЛМП 57-11-18-5-1 где :
1. ЛМП - название элемента - лестничный марш ребристый с полуплощадками;
2. 57 - длина (в дм.);
3. 11 - ширина (в дм.);
4. 18 - высота (в дм.);
5. 5 - нагрузка;
6. 1 - конструктивные особенности.
Марка может иметь дополнительные индексы, которые указывают на конструктивные особенности. Маркировочное обозначение прописывается на каждом изделии, эта процедура упрощает процесс сортирования маршей на складе. Маркировка наносится несмываемой краской темного цвета.
2.Материалы и производство
Изготовление лестничных маршей запроектировано на специально подготовленном заводе сборного железобетона. Производство данных изделий производится кассетным способом. За основу берется тяжелый конструктивный бетон. Щебень, песок и другие добавки для приготовления бетонной смеси должны соответствовать всем действующим техническим нормам. Перед бетонированием изделия, в форму закладывается арматурный каркас. В качестве рабочей арматуры принято использовать горячекатаную стержневую сталь периодического профиля класса AI и AIII по ГОСТ 5781-82. Сварные арматурные каркасы и сетки собираются посредством контактной точечной электросварки. Для соединения лестничного марша с другими конструктивными элементами предусмотрены стальные закладные детали. Извлечение изделия из опалубки может быть произведено только после достижения бетоном достаточной прочности. Все выступающие металлические части, для защиты против коррозии покрываются защитным покрытием.
Заключительный этап производственного процесса - это контроль качества изделий. Лестничный марш проходит испытания на прочность и трещиностойкость. Оценивается качество бетонной поверхности. Проверяется фактическое соответствие рабочим чертежам. Изделия которые прошли все испытания получают паспорт качества. Это является гарантией, что заказчик получает качественную продукцию.
3.Транспортировка и хранение
Складирование и транспортирование лестничных маршей производится в положении «на ребро». Складируют марши, рассортированные по маркам и выпущенным партиям. Изделия устанавливают на деревянные инвентарные прокладки, толщиной не менее 30 мм. При перевозке элементы надежно фиксируют, чтобы исключить их непроизвольное движение. Подъем производится путем захвата 4х монтажных петель. При перемещении, транспортировании, монтаже следует исключить действия, которые могут привести к порче продукции, например свободное падение и или перемещение конструкций волоком.

