О товаре:
- Длинна: 1500 мм.
- Ширина: 1000 мм.
- Высота: 2700 мм.
- Вес: 1680 кг.
- Объем бетона: 0,672 м3
- Геометрический объем: 4,05 м3
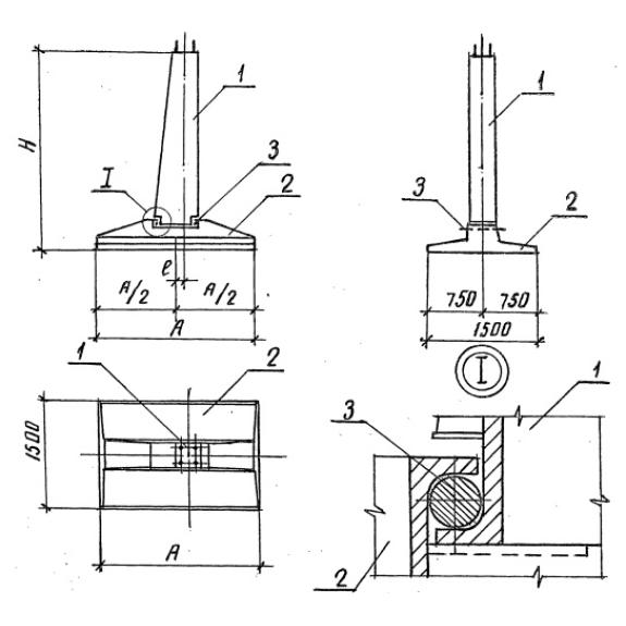
Фундамент под промежуточные опоры Ф 1,5-1-2 – конструкция закрепления свободностоящих опор линий электропередач ВЛ номинальным напряжением 35-500 кВт. Элемент представляет собой грибовидный подножник, который собирают из железобетонных стоек и плит различного назначения. Их соединяют между собой цилиндрическими шпонками или скрепляют болтами. Благодаря тому, что фундамент имеет монолитную и широкую опорную площадь, удается получить основу, которая активно противостоит горизонтальным, сдавливающим, вырывающим и динамическим нагрузкам.
1. Варианты написания маркировки
Допускается записывать маркировочные знаки следующими вариантами:
1. Ф 1,5-1-2;
2. Ф 1.5-1-2.
2. Основная сфера эксплуатации
Применение фундаментных конструкций Ф 1,5-1-2 полностью себя оправдывает, когда промежуточные опоры должны получить прочную, надежную и долговечную основу, заглубляемую на большую глубину (более 05, метра). Монтаж элементов подкрепляется инженерно-геологическими, гидрологическими и технико-экономическими расчетами, а также в расчет берутся конкретные условия эксплуатации. Допускается устанавливать фундамент данного типа под опоры различного уровня нагрузки – средне- и высоконагруженные линии ЛЭП высотой стойки до 6 метров. Так как величина заглубления достаточно внушительные, то для предохранения конструкции от воздействия агрессивной среды обустраивают песчаную или гравийную подсыпку толщиной 50-100 мм. Обратите внимание, что номенклатура изделий содержит всего 12 видов фундаментов. Их основное отличие состоит в том, что оголовок может иметь разное число болтов в оголовке.
3. Обозначение маркировки
Маркировочные знаки формируют согласно условиям Серии 3.407.1-144. В условном обозначении должны быть отражены тип изделия, площадь его основания, количество болтов в оголовке и дополнительными буквенными комбинациями отражают тип опор, совместно с которыми используют фундаменты. Маркировка Ф 1,5-1-2 расшифровывается как:
1. Ф - составной фундамент;
2. 1,5-1 - размеры плиты основания;
3. 2 - количество болтов для крепления конструкции со стойкой опор.
На каждое изделие также наносят данные о компании-производителе, дате выпуска партии ЖБИ и массе конкретной плиты. Обозначение пишут на торцевой грани черной краской, сойкой к истиранию, при этом шрифт должен быть легкоразличимым и удобочитаемым.
Основные размерные данные:
Длина = 1500;
Ширина = 1000;
Высота = 2700;
Вес = 1680;
Объем бетона = 0,672;
Геометрический объем = 4,05.
4. Изготовление и применяемые материалы
Изготавливают фундаменты Ф под промежуточные опоры методом виброформования в специальных неразъемных опалубках. Основные материалы – конструкционных бетонов высокой прочности. Класс В30. Свойства бетона подбираются из расчета эксплуатации фундаментной опоры в условиях критически низких температур – до -55 градусов. Устанавливается морозостойкость бетона F150-200 и водонепроницаемость W6 и более. Контролю также подлежит свойства стойкости бетона к растрескиванию. Если эксплуатация фундамента будет осуществляться в условиях высокого стояния грунтовых вод, то бетонная поверхность подвергается гидроизоляции.
Нормативная прочность достигается путем армирования фундаментов стальными сварными каркасами. Их изготавливают только из устойчивой к окислению арматуры класса стали А-100 и А-300, а также вязальная горячекатаная проволока класса стали Вр-1. Стержни сваривают контактной точечной сваркой. Основные схемы армокаркасов – это стойка и плита. Крепежные болты марки М25 изготавливают из инструментальной термостойкой стали марки 09Г2С или 14Г2 и покрывают цинконаполненными красками с целью защиты от развития коррозионных процессов. Это также повторяют для всех стальных узлов усиливающего пояса. Обязательным условием является покрытие арматуры защитным слоем бетона толщиной 30 мм. Для удобства подъема на высоту плита фундамента имеет 4 монтажные петли.
5. Транспортировка и хранение
Массивные плиты допускается транспортировать автомашинами повышенной грузоподъемности. Не менее эффективным способом доставки ЖБИ данного типа считается железнодорожные вагоны и полувагоны, а также паромные платформы. Обязательным условием является надежная фиксация каждого изделия и их изоляция от бортов машина и других элементов деревянными досками толщиной 40 мм. Операции погрузки и разгрузки осуществляют максимально корректно, соблюдают технику безопасности. Железобетонные плиты должны быть ограждены от резких ударов, сбрасывания и волочения – любые действия, которые могут привести к порче бетонной поверхности. Фундаменты ЛЭП складируют в один ряд или согласно специальным схемам хранения.

