О товаре:
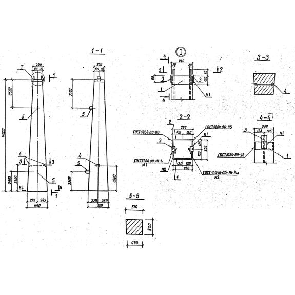
- Длинна: 14000 мм.
 - Ширина: 510 мм.
 - Высота: 500 мм.
 - Вес: 5150 кг.
 - ГОСТ, Серия: Серия 3.407.1-157 скачать
 - Объем бетона: 2,06 м3
 - Геометрический объем: 3,57 м3
 
Стандарт изготовления изделия: Серия 3.407.1-157
Стойки ВС 140-257-1 – элементы группы сборного железобетона, применяемые в энергетическом строительстве. Конструктивно – это стержень в плане прямоугольного сечения с усечением по всей длине по одной из сторон.
1. Варианты написания маркировки
Знаки условного обозначения допускается записывать по-разному. Основные комбинации представлены ниже:
1. ВС 140-257-1;
2. ВС 140.257-1;
3. ВС 140-257.1;
4. ВС 140.257.1;
2. Основная сфера применения
Стойки ВС 140-257-1 прямоугольного сечения предназначены для установки в опорах порталов ошиновки ОРУ номинальным напряжением 35-500 кВт. Часто применяют в подстанционном строительстве. Обратите внимание, что для устройства стоек данного типа не требуется устраивать фундаменты. Элементы заглубляют в специально устроенные скважины с последующим омоноличиваем образуемых полостей и стыков. Бетонная поверхность, которая контактирует с открытым грунтом, должна быть обработана специальными защитными составами. Для гидроизоляции используют битумные мастики.
Унифицированные стойки используют в различных районах по снеговой, ветровой и температурной нагрузке. Оптимально применять ЖБИ в регионах, где сейсмическая активность не превышает 6 баллов по шкале Рихтера, а расчетная температура самого холодного периода не превышает -40 градусов по Цельсию. Эксплуатация в том или ином климатическом районе подкрепляется гидрогеологическими и технико-экономическими расчетами. Не монтируют вибропрессованные стойки в условиях вечномерзлотных грунтов, просадочных грунтов II группы, а также на закарстованных территориях и местностях, подверженных оползням.
3. Обозначение маркировки
Знаки маркировки формируют в соответствии с Серией 3.407.1-157. В первой группе указывают тип конструкции, размерные параметры, несущую способность и тип армирования; во второй – данные о компании-производителе, дате выпуска и весе конкретного изделия. Для обеспечения читаемости шифра, его наносят черной несмываемой краской.
Буквенно-цифровая компоновка ВС 140-257-1 содержит следующие обозначения:
1. ВС – вибропрессованная стойка;
2. 140 – координационная длина, указывается в дециметрах, цифра округляется до целого числа (делается для формирования удобочитаемой маркировки);
3. 257 – несущая способность изделия, записывается в кН*м;
4. 1 – условное обозначение типа армирования.
Технические данные:
Длина = 14000;
Ширина = 510;
Высота = 500;
Вес = 5150;
Объем бетона = 2,06;
Геометрический объем = 3,57.
4. Основные материалы и применяемые технологии
Стойки ВС 140-257-1 выпускают методом вибропрессования на специализированных заводах, на которых организован весь комплекс приемо-сдаточных испытаний и сертификация готовой железобетонной продукции. Производят стойки ВС из конструкционных бетонов на основе сульфатостойких портландцементов. Класс прочности составляет В30 и выше. Принимаются параметры бетона по морозостойкости – марка F150-200, водонепроницаемости – марка W4-8 и высокой трещиностойкости. Применяемые материалы также должны отвечать стойкости к воздействию среды любой степени агрессивности. Все параметры регламентированы действующими стандартами.
Усиление конструкции выполняется арматурными каркасами. Их сваривают методом контактной точечной сварки из горячекатаных стержней диаметром 5, 8, 12 и 20 мм класса A-I, At-VI (упрочненная сталь электротермическим или механическим способами) и A-V (с предварительным напряжением до 700 МПа), а также проволоки класса В-1. Используют крепежные закладные и соединительные детали.Стальные узлы проходят антикоррозионную обработку, чтобы продлить срок службы всего изделия.
5. Транспортировка и хранение
Длинномерные стойки ВС 140-257-1 допускается транспортировать автомобильным, железнодорожным и водным спецтранспортом требуемой грузоподъемности. Из автомобильного транспорта оптимально применять седельные тягачи и мачтовозы, так как стойки – негабаритные и массивные изделия. Обязательно соблюдают нормы загрузки. Элементы должны быть закреплены и проложены деревянными подкладками, исключающими скатывание или навал. Для погрузо-разгрузочного комплекса работ привлекают спецтехнику, оснащенную специальными грузозахватными устройствами (траверсы). При проведении операций соблюдают технику безопасности.
Складирование стоек производится горизонтальными штабелями по 5-6 рядов. Слои прокладывают деревянными досками с бортиками, которые исключают падение кипы. Организуют защиту бетонной поверхности от воздействия внешней среды, если хранение организовано на открытом воздухе. Зимой не допускается использовать обледенелые подкладки, а летом для защиты от жары – бетонные изделия поливают водой 2 раза в сутки, а пачки накрывают плотной рогожей.

