О товаре:
- Длинна: 11500 мм.
- Ширина: 200 мм.
- Высота: 373 мм.
- Вес: 1400 кг.
- Объем бетона: 0,488 м3
- Геометрический объем: 0,8579 м3
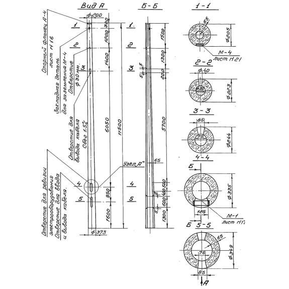
Опоры наружного освещения СЦс 3,4-11,5 – это железобетонные столбы круглого, сужающегося кверху сечения (усеченные конусы со сбегом по длине), без которых сложно представить современный город или даже небольшой населенный пункт. Они служат для организации освещения улиц, а также для проведения электросетей городского транспорта. Незаметные для привычного глаза жителей, эти прочные конструкции выполняют очень важную функцию, и требования к ним предъявляются соответствующие. Центрическая форма, применение высокопрочных материалов для изготовления, а также четкое соответствие производственного процесса действующим стандартам – вот что придает изделиям данного типа исключительную надежность, устойчивость и долговечность.
1. Варианты маркировки
Существует некая стандартизированная система маркирования типовых железобетонных изделий. Марка должна включать в себя информацию о типоразмере, габаритах и важных технических характеристиках строительного элемента. Маркировочные обозначения столбов для освещения улиц могут изображаться несколькими способами:
1. СЦс 3,4-11,5;
2. СЦс 5,1-11,5.
2. Основная сфера применения
Как уже было сказано выше, стойки наружного освещения чаще всего применяются в городах и более мелких поселениях. В большинстве своем они могут выдерживать любую температуру вплоть до критических морозов, однако некоторые конкретные наименования из номенклатурного ряда используются лишь в районах, где средняя температура не опускается ниже -35 градусов. Также установке таких изделий может воспрепятствовать наличие сильноагрессивной газовой и агрессивной жидкой среды. Для эксплуатации на местности со слабо- или среднеагрессивной средой столбы снабжаются дополнительным уровнем антикоррозийной защиты.
3. Обозначения маркировки изделия
Маркировочные обозначения, состоящие из определенных групп буквенно-цифровых символов, значительно облегчают процесс сортировки продукции и ознакомления с каталогами железобетонных изделий. Марка СЦс 3,4-11,5 расшифровывается так:
1. С – стойка;
2. Цс – центрифугированная со стержневой арматурой;
3. 3,4 – нормативный момент в тм. на уровне земной поверхности;
4. 11,5 – длина в м.
Несмотря на то, что маркировочные обозначения довольно информативны и содержательны, при выборе ЖБ-материалов следует учитывать несколько дополнительных характеристик изделия:
Длина = 11500;
Ширина = 200;
Высота = 373;
Вес = 1400;
Объем бетона = 0,488;
Геометрический объем = 0,8579.
4. Изготовление и основные характеристики
Выпуск центрифугированных стоек наружного освещения СЦс 3,4-11,5 осуществляется в соответствии с действующим типовым проектом Серия 3.320-1. Свое название они получили в связи с основной технологией производства таких изделий – центрифугированием. Эта технология помогает достичь максимально гладкой поверхности готовой стойки, ее правильной геометрической формы и высокой прочности защитного бетонного слоя. Внутри столбов, изготовленных таким образом, имеется пустая полость, образованная за счет центробежной силы. Вместе со специальными отверстиями в нижней части и в стенке стойки эта полость используется для монтажа электрического оборудования, а также для вывода кабелей освещения непосредственно на верхушку опоры. Отверстие для монтажа закрывается металлической пластиной.
В верхней части каждой стойки имеются металлические фланцы: они защищают столб от механических повреждений, а также обеспечивают точность крепления кронштейнов. Закладные элементы и отверстия, предусмотренные техническим проектом, монтируют по умолчанию. Каждый заказчик имеет возможность оговорить с производителем требующиеся дополнительные детали конструкции.
Материалы для стоек наружного освещения должны обладать высочайшими эксплуатационными характеристиками. Для изготовления используется прочная арматурная сталь классов А-ІІ и А-ІУ в качестве продольного армирования. Спиральная арматура из проволоки класса Вр-І служит для поперечного усиления. Марка бетона на водонепроницаемость и морозостойкость устанавливается в соответствии Серии 3.320-1. Они зависят от будущих условий эксплуатации изделий и могут варьироваться в пределах от F150 до F200 по морозостойкости и от W4 до W8 по водонепроницаемости. Класс бетона по прочности на сжатие берется В35. Для повышения стойкости готовых столбов к внешним раздражителям и погодным явлениям в состав цементной смеси вводят крупные заполнители из щебня или гравия.
5. Транспортировка и хранение
В соответствии с нормами безопасности железобетонные опоры для наружного освещения СЦс 3,4-11,5 хранятся на подготовленных площадках в горизонтальном положении. Их сортируют по маркам и укладывают штабелями высотой не более чем в пять рядов. Под штабеля и непосредственно между слоями по строгой вертикали помещают деревянные доски толщиной в 40 мм. При транспортировке главным требованием является надежная фиксация изделий.

