О товаре:
- Длинна: 1800 мм.
- Ширина: 1800 мм.
- Высота: 900 мм.
- Вес: 4000 кг.
- ГОСТ, Серия: Серия 1.020-1/87 скачать
- Объем бетона: 1,6 м3
- Геометрический объем: 2,916 м3
Стандарт изготовления изделия: Серия 1.020-1/87
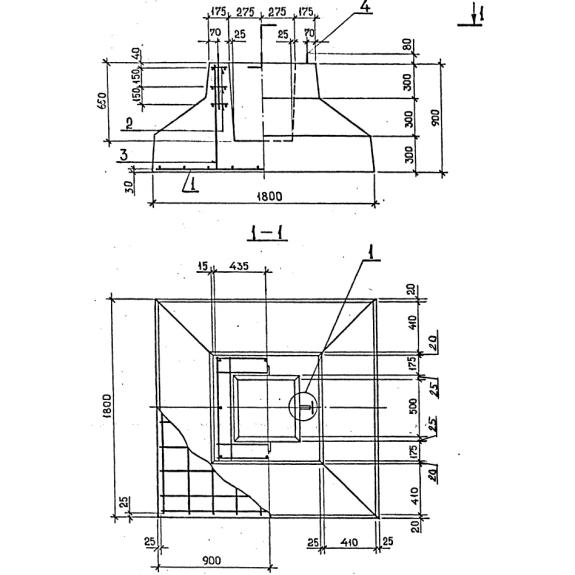
Фундаменты сборные Ф 18-9-1 относятся к стаканному типу и устанавливаются под колонны, имеющие сечение 400х400мм. Многоэтажные производственные, общественные и вспомогательные здания на промышленных предприятиях при их использовании сооружаются намного быстрее. Они эффективны при сооружении зданий в обычных условиях и способны длительное время выдерживать воздействие среднеагрессивных грунтовых вод. Данные изделия имеют максимальную площадь опорной поверхности в Серии, а соответственно могут нести максимальную нагрузку.
1. Варианты маркировки
У различных производителей маркировка фундаментов сборных Ф 18-9-1 может незначительно отличаться. Часто это обусловлено необходимостью указать особые свойства бетона или действующими на предприятии внутренними нормативными документами.
1. Ф 18-9-1;
2. Ф 18-9-2.
2. Основная сфера применения
Фундаменты сборные Ф 18-9-1 по Серии 1.020-1/87 позволяют существенно упростить проектирование и возведение каркасов многоэтажных зданий производственного и общественного назначения, рассчитанных на обычные условия использования. Они предназначены для использования в I-IV районах по снеговым и ветровым нагрузкам по классификации СНиП2.01.07-85. Исключением является их использование в зданиях, имеющих вертикальные стальные связи и сооружаемых на открытой местности. Данная комбинация рассчитана на использование только в I-III районах по ветровой нагрузке.
3. Обозначение маркировка изделия
Маркируют фундаменты сборные Ф 18-9-1 в соответствии с правилами, установленными ГОСТ23009-78, двумя обязательными и одной дополнительной цифробуквенными группами:
Первая группа несёт основную информацию о типе изделия и его геометрических размерах:
1. Ф – тип изделия: фундамент;
2. 18 – выраженный в дециметрах размер стороны основания;
3. 9 – высота фундаментного блока, выраженная в дециметрах;
Вторая группа характеризует несущую способность:
4. 1 – характеризующий несущую способность индекс;
Необязательный индекс, характеризующий способность используемого при производстве бетона противостоять разрушающему воздействию среды:
- Н – указывает на нормальную проницаемость;
- П – свидетельствует о пониженной проницаемости.
Маркировочные надписи следует наносить несмываемой краской на видимые при монтаже поверхности. Наносят в обязательном порядке марку фундамента, товарный знак и штамп подтверждающий приёмку изделия ОТК. По согласованию с заказчиком может наноситься любая дополнительная информация.
Основные характеристики фундамента сборного Ф 18-9-1 по Серии 1.020-1/87:
Длина = 1800;
Ширина = 1800;
Высота = 900;
Вес = 4000;
Объем бетона = 1,6;
Геометрический объем = 2,916.
4. Изготовление и основные характеристики
Фундаменты сборные Ф 18-9-1 соответствуют требованиям СНиП 2.02.01-83 и СНиП 2.03.01-84 и изготавливаются из бетона марки В25. Если предполагается их использование для закладки фундамента, подвергающегося воздействию неблагоприятной среды, то на стадии проектирования должны быть предусмотрены защитные меры, соответствующие положениям СНиП2.03.11-85. Для перемещения блоков используются хорошо зарекомендовавшие себя строповочные петли Серии 1.400-9. Параметр морозостойкости используемой в производстве бетонной смеси определяется согласно требованиям ГОСТ10060-87 и СНиП2.03.01-84. Значение прочности бетона при отпуске потребителю должно превышать 70% от номинальной величины в тёплое время года и 90% зимой, что соответствует норме ГОСТа 13015.0-83. Для изготовления армокаркасов сборных фундаментов этого типа используется арматурная сталь классов AI и AIII по ГОСТу 5781-82, а также Вр-I по ГОСТу6727-80. Все арматурные изделия могут объединяться в пространственный каркас с использованием вязальной проволоки или точечной сварки, выполняемой сварочными клещами. Необходимая точность геометрических размеров достигается изготовлением фундаментов с использованием металлических форм. На наружных поверхностях не должно быть трещин. Исключением является наличие технологических и усадочных трещин с максимальным раскрытием 0,2мм.
5. Транспортировка и хранение
Перемещать и хранить фундаменты сборные Ф 18-9-1 следует с соблюдением норм ГОСТа 13015.4-84. Площадки для хранения должны иметь ровную поверхность и твёрдое покрытие. При складировании должна быть обеспечена возможность свободного считывания маркировочных надписей. При перевозке автотранспортом величина зазора между изделием и бортом должна превышать 50мм.

