О товаре:
- Длинна: 1440 мм.
- Ширина: 900 мм.
- Высота: 240 мм.
- Вес: 400 кг.
- ГОСТ, Серия: Серия 1.050.9-4.93 скачать
- Объем бетона: 0,16 м3
- Геометрический объем: 0,311 м3
Стандарт изготовления изделия: Серия 1.050.9-4.93
Лестничные площадки и полуплощадки ребристые ЛПП 14-9 в (1.050.9-4.93) служат для обустройства высотных домов – это важное направление. За счет правильно подобранных строительных материалов и изделий должны быть получены высокопрочные и долговечные конструкции. Для этого часто применяют железобетон. Лестничные площадки ЛПП 14-9 в (1.050.9-4.93) изготовлены из этого материала, поэтому их применение полностью оправдано с экономической и практической точки зрения.
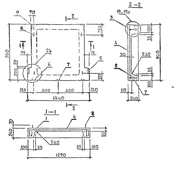
Конструктивно ЛПП 14-9 в (1.050.9-4.93) представляет собой железобетонную платформу особой формы, на которой выполнены две выемки. Данные уступы предназначены для крепления лестничных маршей, это выполняется с двух сторон (марш – наклонная часть лестницы). Также лестничная платформа имеет дополнительные выступы, которые используют для крепления к каркасу строения. В многоэтажном доме, где обустроен мусоропровод, для чего плита ЛПП имеет унифицированное отверстие.
1.Варианты написания маркировки.
Полуплощадки ребристые ЛПП 14-9 в (1.050.9-4.93) маркируют согласно действующему Стандарту – Серии 1.050.9-4.93 и включают в обозначение тип изделия и его основные параметры по размерам. Варианты написания маркировки следующие (при любом способе ошибки допущено не будет):
1. 14-9 в;
2. 14-9 вс.
2.Основная сфера применения.
Основное предназначение ЛПП 14-9 в (1.050.9-4.93) – организация входа или выхода на лестничный марш между этажами. Используют полуплощадки ребристые ЛПП 14-9 в (1.050.9-4.93) при возведении панельных и кирпичных зданий, также могут быть применены для возведения лестничных конструкций промышленных объектов. Возможно использование при возведении частных коттеджей в несколько этажей. Площадки должны быть расположены в начале и конце марша. Ребристые полуплощадки ЛПП 14-9 в (1.050.9-4.93) устанавливают на места одновременно со строительством стен. Некоторые конструкции имеют специальную консоль (используется для опирания непосредственно на стену строения).
Основной сферой применения лестничных площадок и полуплощадок ребристых является сфера гражданского и промышленного строительства. Их используют для соединения лестничных маршей между собой в многоэтажных жилых домах и различных вспомогательных индустриальных сооружениях. В последние годы широко используются лестничные изделия при возведении частных многоэтажных коттеджах. Лестничная площадка ребристая ЛПП 14-9 в (1.050.9-4.93) используется для соединения между собой лестничных маршей. В конструкции лестничного сооружения внутри здания полуплощадки располагают перпендикулярно друг другу. Это обязательный элемент, без которого не обходится ни один многоэтажный жилой дом.
3.Обозначение маркировки изделий.
Маркируют лестничные площадки ЛПП 14-9 в (1.050.9-4.93) согласно Серии 1.050.9-4.93 и включают в обозначение рельеф площадки, тип изделия, размерный ряд (числовые значения округляют до целого). Рассмотрим маркировочные знаки для ЛПП 14-9 в (1.050.9-4.93) :
1. ЛПП – лестничная площадка;
2. 14 – длина, указывается в дц.;
3. 9- ширина, указывается в дц.;
4. в – конечная платформа.
Основные параметры для полуплощадок ЛПП 14-9 в (1.050.9-4.93) :
1. Длина – 1440 ;
2. Ширина – 900 ;
3. Высота – 240 ;
4. Геометрический объем – 0,311 ;
5. Объем бетона на одно изделие – 0,16 ;
6. Масса – 400 .
Дополнительно могут быть буквенные обозначения по особым проектным характеристикам: "Л" – движение по лестницы против часовой стрелки; "Г" – глянцевая поверхность бетонного изделия"; "Ш" – шлифованная поверхность бетонного изделия; "К" – керамическая плитка для отделки изделий. Маркировочные знаки нанесены на боковую грань (со стороны стены) плиты несмываемой черной краской. Могут быть указаны дополнительно следующие параметры: товарный знак производителя, номер партии и дата изготовления изделий.
4.Материалы для изготовления и их характеристики.
Площадка ЛПП 14-9 в (1.050.9-4.93) выдерживает вес опирающейся на нее лестницы, и рассчитана на значительные статические и динамические нагрузки. Использование площадки в зданиях с большой пропускной способностью определяет тип бетона, который применяется для ее изготовления.
Основные параметры по строительным материалам. Марка бетона по прочности на сжатие должна быть соответствовать пределам – не менее чем М300. С учетом многократных продолжительных нагрузок при изготовлении лестничных площадок используют бетон класса не ниже В15. Вертикальная нагрузка монолитного марша достигает до 4,7 кПа. Данный материал отвечает также требованиям по морозостойкости, водонепроницаемости и такое свойство как истираемость. Высокая механическая стойкость ЛПП 14-9 в (1.050.9-4.93) определяет долгий срок службы всего сооружения.
Для получения большей жесткости полуплощадки ребристые ЛПП 14-9 в (1.050.9-4.93) армируют сварными сетками. Используют горячекатаную сталь класса А1 согласно ГОСТ 5781-82.
5.Транспортировка и хранение.
Хранение лестничных площадок ЛПП 14-9 в (1.050.9-4.93) производится в штабелях. Все изделия должны быть ровно уложены на подготовленное щебенчато-песчаное основание, высотой штабеля не более 2,5 м. Для этого используют складские помещения или ровные площадки. Между изделиями укладывают прокладки толщиной не менее 30 мм. При транспортировке спецтранспортом и укладывании элементов в штабеля платформы необходимо оберегать от повреждений.

